Universal Cardan Drive Shaft SWC350BH-1200 for Cold Rolling Mill
The Cardan drive shaft SWC350BH-1200 is a crucial component used in cold rolling mills, which are industrial machines used for reducing the thickness of metal sheets or strips through a series of rolling processes at ambient temperature. The drive shaft plays a vital role in transmitting torque and rotational motion from the motor to the rolling mill, ensuring the efficient operation of the entire system.The Cardan drive shaft SWC350BH-1200 serves as a critical component in cold rolling mills, providing reliable torque transmission and compensating for misalignments. Its design, durability, and ability to handle high loads make it suitable for the demanding requirements of cold rolling processes. Proper maintenance and adherence to safety protocols are essential for ensuring optimal performance and safety in the mill.

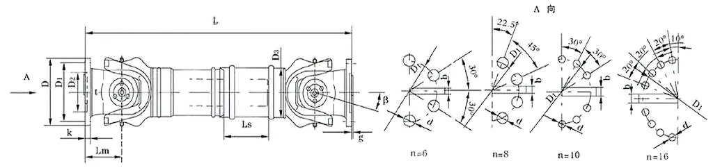
| No. | Gyration diameter Dmm | Nominal torqueTnKN·m | Axes fold angleβ(°) | Weary torqueTfKN·m | Flex quantityLs mm | Size (mm) | Rotating inertiakg.m2 | Weight (kg) | |||||||||||
| Lmin | D1(js11) | D2(H7) | D3 | Lm | n-d | k | t | b(h9) | g | Lmin | Increase100mm | Lmin | Increase100mm | ||||||
| SWC350BH | 350 | 180 | 90 | ≤15 | 150 | 1410 | 310 | 210 | 267 | 194 | 10-23 | 35 | 8 | 50 | 16 | 7.053 | 0.2219 | 582 | 15 |


![]() | ![]() |
![]() | ![]() |
![]() | ![]() |
Address
Luotuo Industrial Area, Zhenhai District, Ningbo City, China
Tel
