Universal Cardan Drive Shaft SWC490BH for High Speed Wire Rod Rolling Mill
The Cardan drive shaft SWC490BH is a specialized component used in high-speed wire rod rolling mills. It plays a crucial role in transmitting power from the motor to the rolling mill stands, enabling efficient and continuous operation of the mill.The Cardan drive shaft, also known as a universal joint shaft, is designed to transmit torque while allowing for angular misalignment between the driving and driven shafts. This flexibility is essential in wire rod rolling mills because the rolling process involves high-speed rotation and significant loads, which can cause misalignment due to various factors such as thermal expansion, mechanical vibrations, or material deformations.The Cardan drive shaft SWC490BH is typically made of high-quality alloy steel to withstand the demanding operating conditions of the rolling mill. It is designed to provide high torque transmission capacity, excellent torsional stiffness, and durability to withstand continuous and heavy-duty operations.The Cardan drive shaft is composed of two yokes or flanges connected by a universal joint. The yokes are attached to the driving and driven shafts, respectively, while the universal joint allows for angular misalignment and compensates for any axial or radial movement. This design ensures smooth power transmission and reduces wear on the components.In a high-speed wire rod rolling mill, the Cardan drive shaft SWC490BH is usually installed between the main motor and the gearbox of the mill. It efficiently transfers the rotary motion and torque generated by the motor to the rolling mill stands, which then shape the wire rod according to the desired specifications.

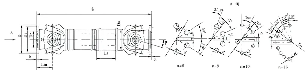
| No. | Gyration diameter Dmm | Nominal torqueTnKN·m | Axes fold angleβ(°) | Weary torqueTfKN·m | Flex quantityLs mm | Size (mm) | Rotating inertiakg.m2 | Weight (kg) | |||||||||||
| Lmin | D1(js11) | D2(H7) | D3 | Lm | n-d | k | t | b(h9) | g | Lmin | Increase100mm | Lmin | Increase100mm | ||||||
| SWC490BH | 490 | 500 | 250 | ≤15 | 190 | 1985 | 435 | 275 | 325 | 270 | 16-31 | 47 | 12 | 90 | 22.5 | 32.86 | 0.4744 | 1452 | 21.7 |

![]() | ![]() |
![]() | ![]() |
![]() | ![]() |
![]() | ![]() |
Address
Luotuo Industrial Area, Zhenhai District, Ningbo City, China
Tel
