Universal Cardan Drive Shaft SWC440BH-1500 for Steel Rolling Mill
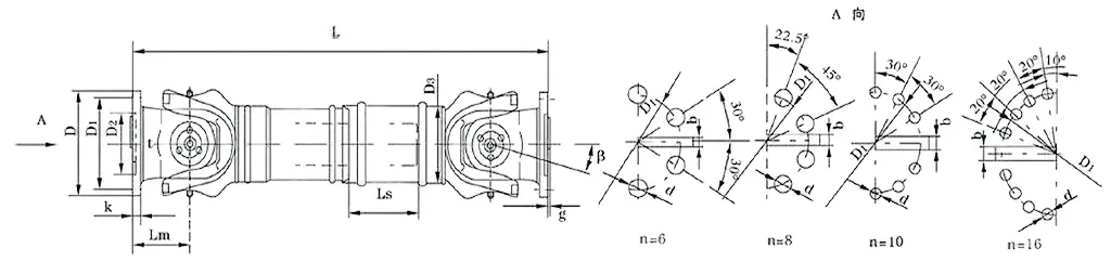
The Cardan drive shaft SWC440BH-1500 is a crucial component used in steel rolling mills for transmitting torque from the main motor to the rolling equipment. It is designed to withstand heavy loads and provide reliable power transmission in demanding industrial environments.The Cardan drive shaft is typically constructed using high-quality steel materials to ensure strength, durability, and resistance to excessive wear and tear. It consists of a series of universal joints connected by solid shafts. The SWC440BH-1500 model refers to the specific design and size of the drive shaft. The primary function of the Cardan drive shaft is to transmit torque from the main motor to the rolling equipment in steel rolling mills. It allows the rotational energy generated by the motor to be efficiently transferred to the rolling stands, where the steel is shaped and processed.One of the key advantages of the Cardan drive shaft is its ability to compensate for misalignment between the motor and the rolling equipment. Due to the flexible design of universal joints, the drive shaft can accommodate angular, parallel, and axial misalignments, reducing stress on the equipment and ensuring smooth power transmission. Steel rolling mills operate under heavy loads, and the Cardan drive shaft is designed to handle these demanding conditions. The SWC440BH-1500 model is specifically engineered to withstand high torque requirements and provide reliable performance even under substantial loads.

| No. | Gyration diameter Dmm | Nominal torqueTnKN·m | Axes fold angleβ(°) | Weary torqueTfKN·m | Flex quantityLs mm | Size (mm) | Rotating inertiakg.m2 | Weight (kg) | |||||||||||
| Lmin | D1(js11) | D2(H7) | D3 | Lm | n-d | k | t | b(h9) | g | Lmin | Increase100mm | Lmin | Increase100mm | ||||||
| SWC440BH | 440 | 355 | 180 | ≤15 | 190 | 1875 | 390 | 255 | 325 | 260 | 16-28 | 42 | 10 | 80 | 20 | 21.42 | 0.4744 | 1190 | 21.7 |



![]() | ![]() |
![]() | ![]() |
Address
Luotuo Industrial Area, Zhenhai District, Ningbo City, China
Tel
