Universal Cardan Drive Shaft SWC440BH-2500 for Cold Rolling Mill
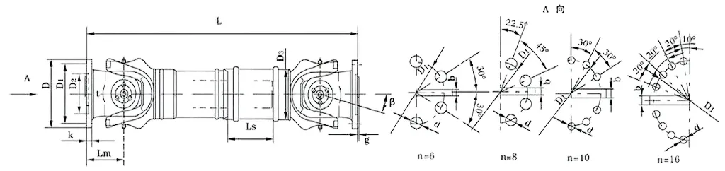
The Cardan drive shaft SWC440BH-2500 is a crucial component used in cold rolling mills. Cold rolling is a process in which metal sheets or strips are passed through a series of rollers at room temperature to reduce their thickness and improve their surface finish. The Cardan drive shaft plays a vital role in transmitting power and torque from the main motor to the rolling mill.The Cardan drive shaft SWC440BH-2500 is typically made of high-quality alloy steel, such as 40Cr or 42CrMo, which provides excellent strength, durability, and resistance to wear and fatigue. It features a Cardan joint or universal joint at each end, which allows for angular misalignment and compensates for the relative movement between the driving and driven shafts. The Cardan joint consists of a cross-shaped or H-shaped yoke with needle bearings, ensuring smooth rotation and efficient power transmission.The Cardan drive shaft accommodates angular misalignment, axial displacement, and radial displacement between the driving and driven shafts. This flexibility helps to minimize stress and vibration, ensuring the smooth operation of the cold rolling mill.

| No. | Gyration diameter Dmm | Nominal torqueTnKN·m | Axes fold angleβ(°) | Weary torqueTfKN·m | Flex quantityLs mm | Size (mm) | Rotating inertiakg.m2 | Weight (kg) | |||||||||||
| Lmin | D1(js11) | D2(H7) | D3 | Lm | n-d | k | t | b(h9) | g | Lmin | Increase100mm | Lmin | Increase100mm | ||||||
| SWC440BH | 440 | 355 | 180 | ≤15 | 190 | 1875 | 390 | 255 | 325 | 260 | 16-28 | 42 | 10 | 80 | 20 | 21.42 | 0.4744 | 1190 | 21.7 |



![]() | ![]() |
![]() | ![]() |
Address
Luotuo Industrial Area, Zhenhai District, Ningbo City, China
Tel
