PTO Shaft for John Deere Square Balers
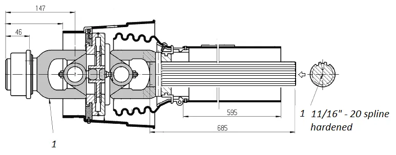
The square baler PTO Shaft is a specific type of Power Take-Off (PTO) shaft that is used in conjunction with square balers, which help in making bales of hay or straw. This type of PTO shaft is distinguished by its square shape, which is designed to transfer power from the tractor to the implement, which produces the square shaped bales.Square baler PTO shafts typically consist of two separate parts: the tractor side and the implement side. On the tractor side, the shaft connects to the tractor's PTO output, and on the implement side, it connects to the baler. The implement side of the square baler PTO shafts usually have an adjustable length, which allows them to connect to a wide range of implements with ease, while the tractor side PTO shafts are standard length.PTO shafts, including the square baler PTO shaft, spinning at high speed can be dangerous and potentially cause accidents, and regular inspection and maintenance are essential to keep them in good working condition. It is important to follow the manufacturer's instructions for the assembly and disassembly of the PTO shafts and use appropriate safety equipment during the process.

Tractor Output Shaft | Complete CV Assembly Part Number (no implement yoke or UJ) | CV 1/2 shaftPart Numberwith shield
| Replacement of Walterscheid Replacement1/2 Shaft Part Number
| ||||||||||||
|---|---|---|---|---|---|---|---|---|---|---|---|---|---|---|---|
![]() |
|
|
| ||||||||||||
![]() |
|
|
| ||||||||||||
![]() |
|
|
|
![]() | ![]() |



![]() | ![]() |
Address
Luotuo Industrial Area, Zhenhai District, Ningbo City, China
Tel
