The roller drum in a Self-Propelled Total Mixed Ration (TMR) Mixer is a critical component designed for the efficient blending of feed ingredients. Here's a simplified explanation of its structure with the provided hints:
| material | ||
| 1 | Conical disc milling cutter SLHA-SBG | |
| 2 | Outer tube round bundle cutter SLHA | S355 J2G3 |
| 3 | Drive shaft milling roller SLHA-SBG | |
| 4 | Protective ring milling roller re SLHA | 1.0570 , S355J2G3 |
| 5 | Flying shovel RBFW SLIB | 1.0570 , S355J2G3 |
| 6 | Knife holder RBFW SLIB | 1.0570 , S355J2G3 |
| 7 | Spiral segment li RB milling roller SLHA | 1.0570 , S355J2G3 |
| 8 | Arc segment re RB milling roller SLHA | 1.0570 , S355J2G3 |
| 9 | Knife holder heavy end spiral RBFW SLIA | 1.0570 , S355J2G3 |
| 10 | SLIA external flow deflector RBFW | 1.0570 , S355J2G3 |
| 11 | Knife holder Li end spiral RBFW SLIA | 1.0570 , S355J2G3 |
1.Weld nut DIN 929-M16-St
2.Milling shaft left SLHA-SBG
3.Outer ring right milling roller SLHA
4.Inner tube milling roller SLHA
5.Spacer ring milling roller
The load drum on Self-Propelled Total Mixed Ration (TMR) Mixers is a pivotal component of the feed loading system. It functions as an intake hopper where various feed ingredients such as hay, silage, grains, and supplements are collected before being mixed. This large, robustly built structure features a wide opening to facilitate easy and efficient loading.
In essence, the load drum streamlines the process of loading multiple feed components onto the Self-Propelled TMR Mixer, contributing significantly to the overall efficiency and accuracy of the ration preparation process. Its size, configuration, and access points are engineered to accommodate diverse farm operations and feeding strategies.
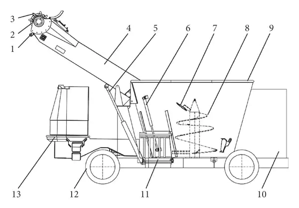
1. land wheel; 2. roller Drum; 3. cutter; 4. conveyor; 5. lifting hydraulic cylinder; 6. discharging hydraulic cylinder; 7. moving blade; 8. auger; 9. bin; 10. diesel engine unit; 11. discharging device; 12. road wheels; 13. cab.

Our drum design is ingenious and refined from high-quality wear-resistant materials. The internal structure includes but is not limited to high-speed drum shafts, low-speed drum shafts, guide spiral blades, low-speed threshing drums, curved racks, and precise drum linkage devices, aiming to ensure efficient, uniform, and no excessive crushing of materials during feed mixing.
In order to meet the specific requirements and unique designs of different customers, we also provide customized services. Whether you need to match accurately according to existing drawings or want a brand new design based on specific production needs, our technical team can quickly respond and provide customized solutions for you. Just send us your drawings or detailed requirements, and we will do our best to ensure that you receive the product that best meets your expectations.
Address
Luotuo Industrial Area, Zhenhai District, Ningbo City, China
Tel
