Universal Cardan Drive Shaft SWC225BH for Straightening Machine
The Cardan drive shaft SWC225BH is a key component used in straightening machines. These machines are commonly employed in various industries, including metalworking, automotive, and manufacturing, where the straightening of materials is crucial for ensuring their quality and dimensional accuracy.The Cardan drive shaft, also known as a universal joint or U-joint, is designed to transmit torque and rotation between two shafts that are not aligned with each other. It consists of a pair of yokes connected by a cross-shaped intermediate component known as the spider. The yokes are attached to the respective shafts, while the spider allows for the rotation and flexibility required to compensate for the misalignment.When integrated into a straightening machine, the Cardan drive shaft SWC225BH enables the transfer of rotational power from the machine's motor to the straightening rolls or other components responsible for the material straightening process. By accommodating the misalignment between the input and output shafts, the Cardan drive shaft ensures smooth and efficient power transmission.The SWC225BH Cardan drive shaft is designed to withstand the high torque and dynamic loads typically involved in straightening applications. It is constructed using high-quality materials, such as alloy steel, to ensure durability and reliability under demanding operating conditions. Additionally, the design of the SWC225BH may incorporate features like grease fittings or sealed bearings for lubrication and maintenance purposes.

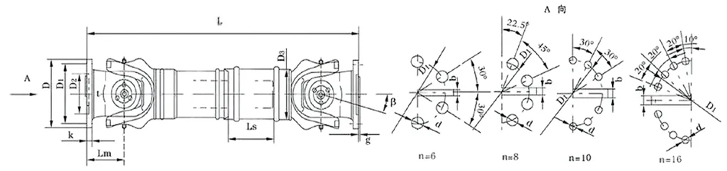
| No. | Gyration diameter Dmm | Nominal torqueTnKN·m | Axes fold angleβ(°) | Weary torqueTfKN·m | Flex quantityLs mm | Size (mm) | Rotating inertiakg.m2 | Weight (kg) | |||||||||||
| Lmin | D1(js11) | D2(H7) | D3 | Lm | n-d | k | t | b(h9) | g | Lmin | Increase100mm | Lmin | Increase100mm | ||||||
| SWC225BH | 225 | 40 | 20 | ≤15 | 140 | 920 | 196 | 135 | 152 | 120 | 8-17 | 20 | 5 | 32 | 9 | 0.538 | 0.0234 | 122 | 4.9 |

![]() | ![]() |

![]() | ![]() |
![]() | ![]() |
Address
Luotuo Industrial Area, Zhenhai District, Ningbo City, China
Tel
