Universal Cardan Drive Shaft SWC250WH for Crusher
The Cardan drive shaft SWC250WH is a specialized component used in crushers for transmitting rotational power from the motor to the crusher's crushing mechanism. The drive shaft plays a crucial role in ensuring smooth and efficient operation of the crusher by transferring torque while accommodating for misalignments and variations in distance between the driving and driven components.The drive shaft incorporates a Cardan joint, also known as a universal joint, which consists of two yokes connected by a cross-shaped bearing. This joint allows the shaft to transmit torque at an angle, making it suitable for applications where misalignments occur between the driving and driven components. The Cardan drive shaft is designed to transmit high levels of torque, efficiently transferring power from the motor to the crusher. It ensures that the rotational force is effectively delivered to the crushing mechanism, enabling the crusher to process and crush various materials.One of the significant advantages of the Cardan drive shaft is its ability to compensate for misalignments between the motor and crusher. As the crusher operates, there may be slight deviations or movements in the components. The Cardan joint allows the drive shaft to flex and adjust, accommodating these misalignments and maintaining consistent power transmission. The SWC250WH Cardan drive shaft is built to withstand the demanding conditions of crusher applications. It is typically constructed with high-strength materials such as alloy steel and undergoes precision engineering to ensure durability, reliability, and resistance to wear and fatigue.

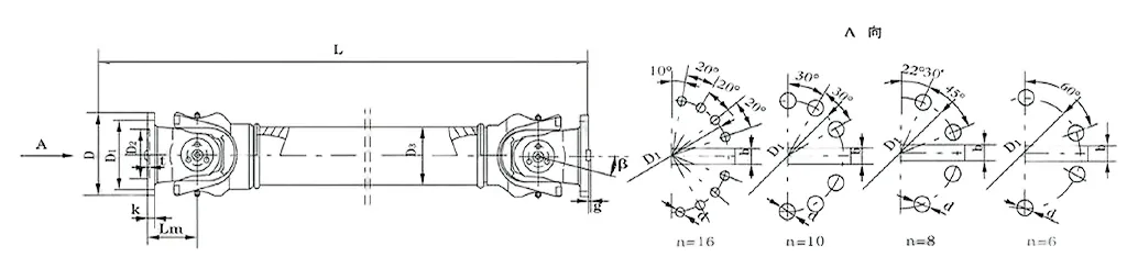
| No. | Gyration diameter Dmm | Nominal torqueTnKN·m | Axes fold angle β(°) | Weary torqueTfKN·m | Size (mm) | Rotating inertiakg.m2 | Weight (kg) | |||||||||||
| Lmin | D1(js11) | D2(H7) | D3 | Lm | n-d | k | t | b(h9) | g | Lmin | Increase100mm | Lmin | Increase100mm | |||||
| SWC250WH | 250 | 63 | 31.5 | 15° | 620 | 218 | 150 | 168 | 140 | 8-19 | 25 | 6 | 40 | 12.5 | 0.817 | 0.0277 | 124 | 5.3 |



![]() | ![]() |
![]() | ![]() |
Address
Luotuo Industrial Area, Zhenhai District, Ningbo City, China
Tel
