Universal Cardan Drive Shaft SWC490BH for Hot Rolling Mill Tooth Embedded Type
The Cardan drive shaft SWC490BH is a specialized component used in hot rolling mills, specifically in the tooth embedded type of mills. This drive shaft plays a crucial role in transmitting torque and rotational motion between different sections of the mill, allowing for the efficient and continuous processing of metal sheets or rods.The SWC490BH drive shaft is designed to withstand the demanding operating conditions of hot rolling mills, where high temperatures, heavy loads, and continuous operation are common. It is typically used in the tooth embedded type of mill, which features toothed rollers that grip and feed the metal stock through the mill for rolling.The drive shaft is commonly referred to as a Cardan shaft or universal joint shaft. It consists of a series of connected shafts with universal joints at each end, allowing for flexibility and compensation of misalignment between the driving and driven components. This flexibility is crucial in the hot rolling mill application, where the shaft needs to accommodate any slight misalignment or angular displacement caused by the rolling process.The SWC490BH drive shaft is made from high-quality materials that can withstand the harsh conditions of the hot rolling mill environment. It is designed to provide excellent torque transmission, reliability, and durability. The tooth embedded type of mill requires a drive shaft that can handle the high forces and stresses generated during the rolling process, and the SWC490BH is specifically engineered for this purpose.

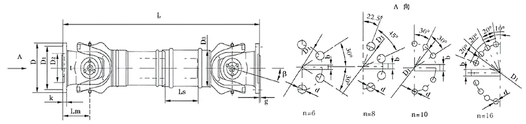
| No. | Gyration diameter Dmm | Nominal torqueTnKN·m | Axes fold angleβ(°) | Weary torqueTfKN·m | Flex quantityLs mm | Size (mm) | Rotating inertiakg.m2 | Weight (kg) | |||||||||||
| Lmin | D1(js11) | D2(H7) | D3 | Lm | n-d | k | t | b(h9) | g | Lmin | Increase100mm | Lmin | Increase100mm | ||||||
| SWC490BH | 490 | 500 | 250 | ≤15 | 190 | 1985 | 435 | 275 | 325 | 270 | 16-31 | 47 | 12 | 90 | 22.5 | 32.86 | 0.4744 | 1452 | 21.7 |

![]() | ![]() |

![]() | ![]() |
![]() | ![]() |
Address
Luotuo Industrial Area, Zhenhai District, Ningbo City, China
Tel
