W2600 Series PTO Shaft-Replacement of Walterscheid PTO Shaft
The W2600 series PTO shaft is a type of power take-off (PTO) shaft used in agricultural machinery to transfer power from a tractor or other power source to an implement, such as a rotary cutter, mower, or baler. The W2600 series PTO shaft is made up of several components, including a telescoping driveline, a safety shield, and various end yokes and universal joints that connect to the tractor and implement. It is designed to handle medium to heavy-duty applications with a maximum power rating of 125 horsepower and a torque capacity of 1,650 Nm.The W2600 series PTO shafts are an essential component of many types of farm equipment, allowing for efficient and effective power transfer between the tractor and the implement. However, they can also be dangerous if not used properly, which is why it is important to follow safety guidelines and use appropriate protective equipment when working with PTO shafts.

| Dim. “A” Bore | Dim. “B” mm | in. | |
Safety Slide Lock | 1 3/8” x 6 Spl. | 150 | 5.91” |
| 1 3/4” x 20 Spl. | 150 | 5.91” | |
| 1 3/8” x 21 Spl. | 150 | 5.91” | |
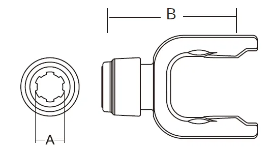
Quick Disconnect Yoke | 1 3/8” x 6 Spl. | 131.0 | 5.15” |
| 1 3/4” x 20 Spl. | 131.0 | 5.15” | |
| 1 3/8” x 21 Spl. | 131.0 | 5.15” |
| Dim. “A” | Dim. “B” | |||
| mm | in. | mm | in. | |
![]() | 42.0 | 1.65” | 104.0 | 4.09” |
| Dim. “A” Bore | Dim. “B” | |||
| mm | in. | mm | in. | |
With Bearing Groove | 61.0 | 2.40” | 130.0 | 5.12” |
| Lengthmm | in. | |
![]() | 1.5 | 59.06” |
| 1.0 | 39.37” |
| Dim. “A” Bore | Dim. “B” | |||
| mm | in. | mm | in. | |
With Bearing Groove | 71.7 | 2.82” | 130.0 | 5.12” |
| Dim. “A” | Dim. “B” | |||
![]() | mm | in. | mm | in. |
| 13.0 | .50” | 100.0 | 3.69” | |
| Lengthmm | in. | |
![]() | 1.5 | 59.06” |
| 1.0 | 39.37” |
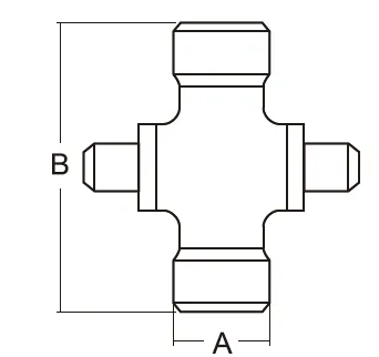
| Dim. “A” Bore | Dim. “B” | Standard Keyway | ||||
| mm | in. | mm | in. | mm | in. | |
Round BoreWith Keyway & Set Screw | 38.1 | 1.50” | 130.0 | 5.12” | 9.5 | .37” |
| 41.3 | 1.63” | 130.0 | 5.12” | 9.5 | .37” | |
| 44.5 | 1.75” | 130.0 | 5.12” | 9.5 | .37” | |
| 50.8 | 2.00” | 130.0 | 5.12” | 12.7 | .50” | |
![]() | |
| Overall Driveline Length | Bearing Kit (2 per kit) |
| 48” | 961-0251 |
| 60” | 961-0251 |
| Guard Chain Kit | ![]() |
| Easy Lock Replacement Kit | ![]() |

![]() | ![]() |
![]() | ![]() |

Address
Luotuo Industrial Area, Zhenhai District, Ningbo City, China
Tel
