

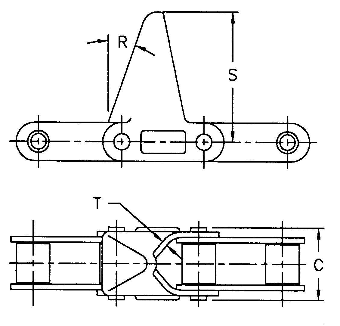
Att. No. | Chain No. | C | R | S | T |
C11E | CA550 | 1.266 | 17° | 2.500 | .105 |
C13E | CA550 | 1.266 | 15° | 3.625 | .105 |
CA620 | 1.531 | 15° | 3.625 | .125 | |
C14E | CA620 | 1.531 | 25° | 2.656 | .125 |
Please click on the photos below to visit their websites.

Address
Luotuo Industrial Area, Zhenhai District, Ningbo City, China
Tel
