Industrial Cardan Drive Shaft SWC120BH for Steel Pipe Straightener
The Industrial Cardan Drive Shaft SWC120BH is a crucial component used in steel pipe straighteners. It plays a vital role in transmitting torque and rotation between the power source and the straightening mechanism. This type of drive shaft is specifically designed for industrial applications, where heavy-duty performance and reliability are essential. The SWC120BH cardan drive shaft belongs to the SWC-BH series, which is known for its high torque capacity and durability. It is commonly used in various industrial sectors, including steel manufacturing, metal processing, and pipe production.

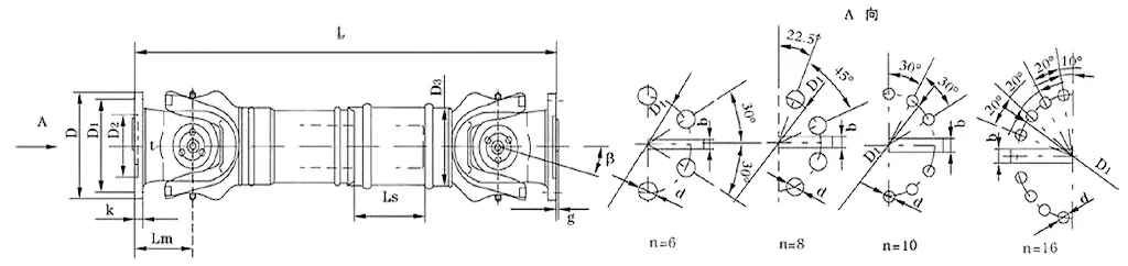
| No. | Gyration diameter Dmm | Nominal torqueTnKN·m | Axes fold angleβ(°) | Weary torqueTfKN·m | Flex quantityLs mm | Size (mm) | Rotating inertiakg.m2 | Weight (kg) | |||||||||||
| Lmin | D1(js11) | D2(H7) | D3 | Lm | n-d | k | t | b(h9) | g | Lmin | Increase100mm | Lmin | Increase100mm | ||||||
| SWC120BH | 120 | 2.5 | 1.25 | ≤25 | 80 | 485 | 102 | 75 | 70 | 68 | 8-11 | 8 | 2.5 | - | - | 0.0109 | 0.00044 | 10.8 | 0.55 |


![]() | ![]() |
![]() | ![]() |
![]() | ![]() |
Address
Luotuo Industrial Area, Zhenhai District, Ningbo City, China
Tel
