Industrial Cardan Drive Shaft SWC200BH for Slitting Machine
The Industrial Cardan Drive Shaft SWC200BH is a crucial component used in slitting machines for various industrial applications. Slitting machines are commonly used in industries such as paper, plastic, metal, and textile to cut large rolls of material into narrower strips or sheets. The SWC200BH Cardan drive shaft plays a vital role in transmitting torque and rotational motion from the machine's power source to the slitting blades.The SWC200BH Cardan drive shaft is typically designed with a universal joint configuration, which consists of two yokes connected by a cross-shaped center section. It is constructed using high-quality materials such as alloy steel or stainless steel to ensure durability, strength, and resistance to wear and tear. The primary function of the Cardan drive shaft is to transmit torque from the machine's power source, such as an electric motor or an engine, to the slitting blades. The SWC200BH is capable of transmitting high torque loads efficiently, allowing for smooth and precise cutting operations.Slitting machines often require the drive shaft to accommodate misalignment between the power source and the slitting blades. The SWC200BH Cardan drive shaft is designed to tolerate angular, parallel, and axial misalignments, ensuring reliable power transmission even in challenging operating conditions. During operation, slitting machines can generate significant vibrations that can affect the overall performance and accuracy of the cutting process. The SWC200BH drive shaft is engineered to minimize vibrations and maintain stable power transmission, enhancing the machine's efficiency and reducing wear on other components.Proper maintenance of the Cardan drive shaft is essential for its longevity and optimal performance. Regular inspection, lubrication, and alignment checks are recommended to prevent premature wear and failure. Lubrication points are strategically placed along the drive shaft to ensure smooth operation and minimize friction. The SWC200BH Cardan drive shaft can be customized to meet specific requirements of different slitting machine applications. Length, diameter, and torque capacity can be tailored to suit the machine's power output and the material being processed, ensuring optimal performance and efficiency.

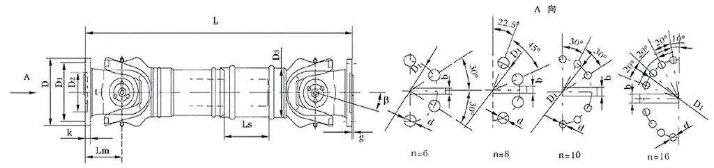
| No. | Gyration diameter Dmm | Nominal torqueTnKN·m | Axes fold angleβ(°) | Weary torqueTfKN·m | Flex quantityLs mm | Size (mm) | Rotating inertiakg.m2 | Weight (kg) | |||||||||||
| Lmin | D1(js11) | D2(H7) | D3 | Lm | n-d | k | t | b(h9) | g | Lmin | Increase100mm | Lmin | Increase100mm | ||||||
| SWC200BH | 200 | 32 | 16 | ≤15 | 110 | 860 | 170 | 120 | 127 | 135 | 8-17 | 19 | 5 | 28 | 16 | 0.31 | 0.013 | 86 | 3.6 |


![]() | ![]() |
![]() | ![]() |
![]() | ![]() |
Address
Luotuo Industrial Area, Zhenhai District, Ningbo City, China
Tel
