Industrial Cardan Drive Shaft SWC390BH for Seamless Steel Pipe Mill Machine
The SWC390BH Industrial Cardan drive shaft is a specialized component used in seamless steel pipe mill machines. It plays a critical role in transmitting torque and rotational motion between various components of the mill, ensuring smooth and efficient operation throughout the pipe manufacturing process.The SWC390BH Cardan drive shaft is specifically designed to meet the requirements of seamless steel pipe mills, which involve high-speed and heavy-duty operations. It is engineered to handle substantial torque loads, accommodate misalignments, and withstand the harsh conditions typically encountered in such industrial environments.This drive shaft model, SWC390BH, belongs to the SWC-BH series, which is recognized for its robustness and reliability in demanding applications. It is constructed using high-quality materials like alloy steel, ensuring strength, durability, and resistance to fatigue.The SWC390BH Cardan drive shaft consists of multiple universal joints connected by a solid or hollow shaft. These universal joints comprise a cross-shaped yoke with bearings at each end, allowing for free rotation. The yoke is connected to the adjacent shafts using yoke ears and bearing caps, securing the joints while enabling rotational movement.In the seamless steel pipe mill machine, the SWC390BH Cardan drive shaft is typically used to transmit power from the main motor or gearbox to various components involved in the pipe manufacturing process. It effectively compensates for misalignments that may occur due to the different orientations of the driving and driven shafts.During operation, as the driving shaft rotates, the universal joints of the SWC390BH drive shaft transfer the torque to the driven shafts, ensuring smooth power transmission. The drive shaft's flexible design allows it to absorb any angular misalignment, reducing vibration and enhancing the overall efficiency of the mill machine.

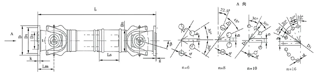
| No. | Gyration diameter Dmm | Nominal torqueTnKN·m | Axes fold angleβ(°) | Weary torqueTfKN·m | Flex quantityLs mm | Size (mm) | Rotating inertiakg.m2 | Weight (kg) | |||||||||||
| Lmin | D1(js11) | D2(H7) | D3 | Lm | n-d | k | t | b(h9) | g | Lmin | Increase100mm | Lmin | Increase100mm | ||||||
| SWC390BH | 390 | 250 | 125 | ≤15 | 170 | 1590 | 345 | 235 | 267 | 215 | 10-25 | 40 | 8 | 70 | 18 | 12.164 | 0.2219 | 738 | 15 |



![]() | ![]() |
![]() | ![]() |
Address
Luotuo Industrial Area, Zhenhai District, Ningbo City, China
Tel
