Industrial Cardan Drive Shaft SWC150BH for Slitting Machine
The Industrial Cardan Drive Shaft SWC150BH is a crucial component utilized in slitting machines, which are commonly used in various industries for cutting and dividing materials such as paper, metal, plastic, and textiles into narrower strips or rolls. The drive shaft plays a vital role in transmitting power from the motor to the slitting blades, ensuring efficient and precise cutting operations.The SWC150BH drive shaft is built with high-quality materials such as alloy steel, ensuring strength, durability, and resistance to wear and tear. This robust construction allows it to withstand the demanding conditions often encountered in industrial applications. The drive shaft features a compact design, making it suitable for installations with limited space. Its flexible nature enables it to accommodate misalignments between the driving and driven components, reducing stress and improving the overall performance of the slitting machine.The SWC150BH drive shaft efficiently transfers torque from the motor to the slitting blades, facilitating the cutting process. Its design minimizes power losses and ensures smooth power transmission, resulting in accurate and consistent slitting operations. The drive shaft is designed to require minimal maintenance, reducing downtime and enhancing productivity. It is equipped with lubrication points and sealed bearings that provide long-lasting performance without frequent lubrication or inspection requirements.The Industrial Cardan Drive Shaft SWC150BH is available in various configurations to suit different slitting machine requirements. It can be customized in terms of length, diameter, flange size, and other specifications to ensure compatibility with specific applications.

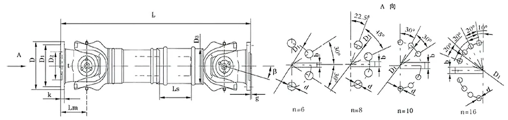
| No. | Gyration diameter Dmm | Nominal torqueTnKN·m | Axes fold angleβ(°) | Weary torqueTfKN·m | Flex quantityLs mm | Size (mm) | Rotating inertiakg.m2 | Weight (kg) | |||||||||||
| Lmin | D1(js11) | D2(H7) | D3 | Lm | n-d | k | t | b(h9) | g | Lmin | Increase100mm | Lmin | Increase100mm | ||||||
| SWC150BH | 150 | 5 | 2.5 | ≤25 | 80 | 590 | 13 | 90 | 89 | 80 | 8-13 | 10 | 3 | - | - | 0.0423 | 0.00157 | 24.5 | 0.85 |



![]() | ![]() |
![]() | ![]() |
Address
Luotuo Industrial Area, Zhenhai District, Ningbo City, China
Tel
