Universal Cardan Drive Shaft SWC-I-315BH for Crusher
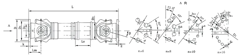
SWC-I-315BH medium-sized cardan drive shafts are mainly used in steel rolling mills, piercing machines, straightening machines, crushers and ship drives and other mechanical use occasions, is a widely used universal shaft product series. Its flange diameter is 160-620mm, transmitting a rated torque range of 16-1000kN.m, and the axis folding angle is 15°.Crusher cardan drive shafts use the characteristics of its mechanism so that the two shafts are not on the same axis; the existence of the axis of the case of the angle of the cardan drive shafts can realize the two shafts connected to the continuous rotation and reliable transmission of torque and movement. Medium-sized cardan drive shafts are characterized by compact structure, high transmission torque, long service life, and the ability to be used for a long period of time under poor working conditions.

| No. | Gyration diameter Dmm | Nominal torqueTnKN·m | Axes fold angleβ(°) | Weary torqueTfKN·m | Flex quantityLs mm | Size (mm) | Rotating inertiakg.m2 | Weight (kg) | |||||||||||
| Lmin | D1(js11) | D2(H7) | D3 | Lm | n-d | k | t | b(h9) | g | Lmin | Increase100mm | Lmin | Increase100mm | ||||||
| SWC315BH | 315 | 125 | 63 | ≤15 | 140 | 1315 | 280 | 185 | 219 | 180 | 10-23 | 32 | 8 | 40 | 15 | 3.605 | 0.0795 | 382 | 8 |
![]() | ![]() |

![]() | ![]() |
![]() | ![]() |
Address
Luotuo Industrial Area, Zhenhai District, Ningbo City, China
Tel
