Universal Cardan Drive Shaft SWC390BH for Four-Roller Cold Rolling Mill
The four-roller cold rolling mill is a specialized machine used in the metalworking industry to reduce the thickness and improve the surface quality of metal sheets or strips. It is commonly employed in the production of steel, aluminum, and other metals. The Cardan drive shaft SWC390BH plays a vital role in transmitting power from the motor to the rollers, enabling the rolling process to take place effectively.The Cardan drive shaft SWC390BH provides a reliable and efficient means of transmitting power from the motor to the rollers in a four-roller cold rolling mill. Its ability to handle high torque and compensate for misalignments ensures smooth and consistent rolling operations, leading to improved product quality and production efficiency.By transmitting power effectively, the Cardan drive shaft enables the rollers to exert the required pressure on the metal sheet or strip, resulting in precise thickness reduction and improved surface finish. This is crucial in industries where high-quality metal products are essential, such as automotive, aerospace, and construction.The Cardan drive shaft SWC390BH is a vital component in a four-roller cold rolling mill, facilitating efficient power transmission and ensuring smooth operation. Its high torque transmission capability, flexibility, compact design, and durability make it an indispensable part of the cold rolling process, contributing to improved product quality and overall productivity.

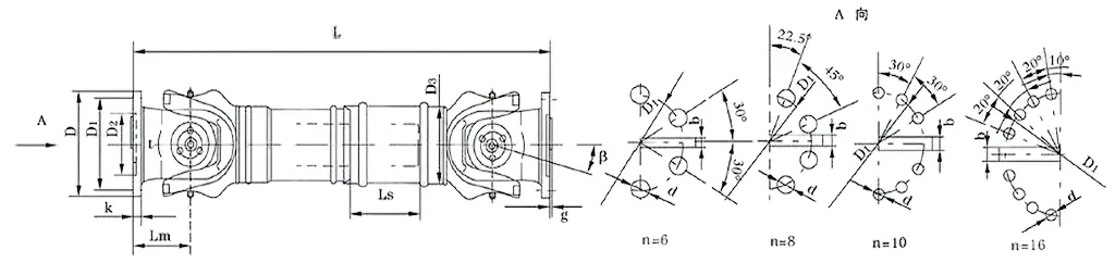
| No. | Gyration diameter Dmm | Nominal torqueTnKN·m | Axes fold angleβ(°) | Weary torqueTfKN·m | Flex quantityLs mm | Size (mm) | Rotating inertiakg.m2 | Weight (kg) | |||||||||||
| Lmin | D1(js11) | D2(H7) | D3 | Lm | n-d | k | t | b(h9) | g | Lmin | Increase100mm | Lmin | Increase100mm | ||||||
| SWC390BH | 390 | 250 | 125 | ≤15 | 170 | 1590 | 345 | 235 | 267 | 215 | 10-25 | 40 | 8 | 70 | 18 | 12.164 | 0.2219 | 738 | 15 |

![]() | ![]() |

![]() | ![]() |
![]() | ![]() |
Address
Luotuo Industrial Area, Zhenhai District, Ningbo City, China
Tel
