
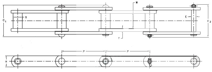
A-L CHAIN NO. | DIMENSIONS IN INCHES | |||||||
BARREL | INNER | OVERALL WIDTH | LINK PLATE | PIN DIA. | ||||
PITCH | DIA. | WIDTH | RIV. | COTT. | ||||
P | D | W | C1 | C2 | H T | E | ||
SS188 SS131 SS102B SS111 SS110 SS833 SS856 SS857SS859SS956 SS958* SS150+ SS864*SS984* SS994* | 2.6093.0754.0004.7606.0006.0006,0006.0006.0006.0006.0006.0507.0007.0007.000 | .881.251.001.441.251.441.751.752.381.752.001.752.382.502.50 | 1.061.312.122.622.122.623.003.003.753.003.003.313.753.753.75 | 2.503.504.385.004.38- 6.00****-- 6.50**-- | 2.693.754.535.444.535.086.315.947.255.956.136.627.257.257.75 | 1.121.501.502.001.502.002.503.25 - I2.50 - O4.00 - I3.00 - O 3.00 3.25 2.504.00 - I3.00 - O 4.00 4.00 | .25.38.38.38.38.38.50.50.62.50.56.50.62.62.62 | 0.5000.6250.6250.7500.6250.7501.0001.0001.2501.0001.1101.0001.2501.3751.575 |

Address
Luotuo Industrial Area, Zhenhai District, Ningbo City, China
Tel
