FHP17K Split Taper Bushing
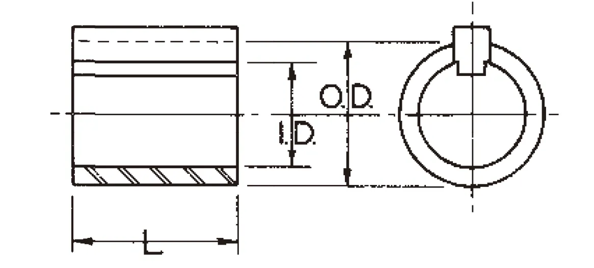
The FHP17K split taper bushing is a type of bushing that is used to mount sheaves, sprockets, gears, and other components on shafts. It is a split bushing, which means that it is made up of two halves that are held together by keys. This allows the bushing to be easily installed and removed, and it also makes it easier to align the component with the shaft.The FHP17K split taper bushing is designed for use in drives with lower torque. It has a 1 3/8" inside diameter and a 1 7/16" outside diameter. The bushing is made of steel and is heat treated for strength and durability.Split taper bushings work by transferring the load from the component to the shaft. The tapered surface of the bushing fits snugly against the shaft, which creates a frictional force that holds the component in place. The keys in the bushing help to prevent the halves from coming apart under load.The FHP17K split taper bushing is a versatile and reliable component that can be used in a variety of applications. It is a good choice for applications where a low-torque, easy-to-install bushing is required.

| Bushing Part No. | FHP17K Split Taper Bushing |
| Outside Diameter (O.D.) | 1 7/16'' |
| Inside Diameter (I.D.) | 1 3/8'' |
| Length | 1 3/8'' |
| Keyway Size | 3/8'' X 3/16'' — 5/16'' X 5/32'' |
| Bore Type | Finished with Keyway |
| Material | Steel |
| Application | Mounting of various FHP drive components, including sheaves, pulleys, and sprockets. |
![]() | ![]() |
![]() | ![]() |
Address
Luotuo Industrial Area, Zhenhai District, Ningbo City, China
Tel
