FHP1K Split Taper Bushing
The FHP1K split taper bushing is a mechanical component used in power transmission systems to mount and secure rotating shafts in different types of equipment, such as pumps, motors, conveyor systems, and more. The FHP1K bushing is designed to fit into a hub or pulley with a tapered bore, and it is split along its length for easy installation and removal without requiring the disassembly of the entire system.The FHP1K split taper bushing is specifically designed for use with fractional horsepower (FHP) applications, meaning it is suitable for use with smaller motors and machines that require less power. The bushing is made of high-quality steel and is coated with a corrosion-resistant finish to ensure durability and longevity. Overall, the FHP1K split taper bushing provides a reliable and cost-effective solution for mounting rotating shafts in a wide range of industrial applications.

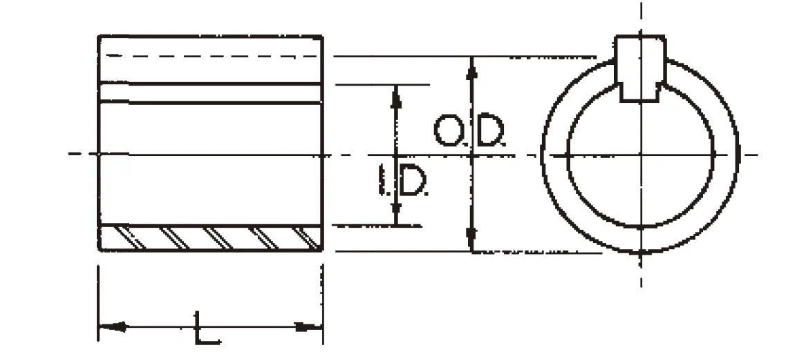
| Bushing Part No. | FHP1K Split Taper Bushing |
| Outside Diameter (O.D.) | 3/4" |
| Inside Diameter (I.D.) | 1/2" |
| Length | 1/8" |
| Keyway Size | 3/16" X 7/32" — 1/8" X 1/16" |
| Bore Type | Finished with Keyway |
| Material | Steel |
| Application | Mounting of various FHP drive components, including sheaves, pulleys, and sprockets. |

![]() | ![]() |
Address
Luotuo Industrial Area, Zhenhai District, Ningbo City, China
Tel
