Forklift Steering Hydraulic Cylinder
A forklift steering hydraulic cylinder is a hydraulic cylinder that is used to provide power steering for a forklift. It is a critical component of the forklift's steering system, and it allows the operator to easily steer the forklift, even when it is carrying a heavy load.
The forklift steering hydraulic cylinder is typically located in the front of the forklift, and it is connected to the steering linkage. When the operator turns the steering wheel, the hydraulic fluid is pumped into the cylinder, which causes the piston to extend. This movement of the piston turns the steering linkage, which in turn causes the wheels to turn.
There are two main types of forklift steering hydraulic cylinders: single-acting and double-acting. Single-acting cylinders only extend when hydraulic fluid is pumped into them. Double-acting cylinders extend when hydraulic fluid is pumped into them, and they also retract when hydraulic fluid is pumped out of them.
Forklift steering hydraulic cylinders are typically made of high-quality steel and other materials that can withstand the harsh operating conditions of a forklift. They are also designed to be very durable and long-lasting.
The benefits of using a forklift steering hydraulic cylinder include:


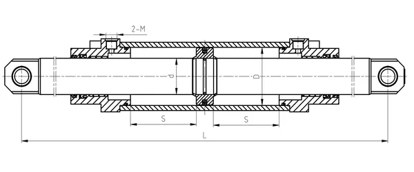
1 | Hex Bolt | 9 | Dust Wiper |
2 | Clevis | 10 | Rod Seal |
3 | Spring Washers | 11 | Du Bush |
4 | Hex Nut | 12 | Cylinder Housing assy |
5 | Guide Bush | 13 | Hole Seal |
6 | O-Ring | 14 | Piston |
7 | O-Ring | 15 | O-Ring |
8 | Round Wire | 16 | Piston Rod |
![]() | ![]() |
| Cylinder Name | drawing number | bore diameter (D) | rod diameter (d) | stroke (S) | Installation distance (L) | working pressure | Interface dimensions (M) | weight |
| Steering cylinder | R960-224000-001 | Φ65 | Φ40 | 2*98 | 672 | 10.5MPa | 2-G1/4 | 15kg |
![]() | ![]() |
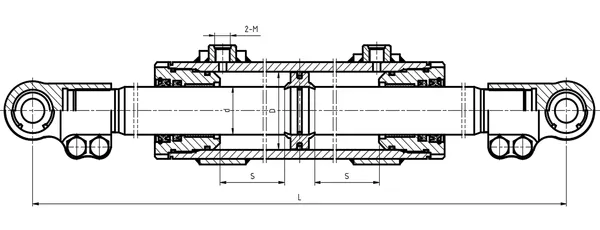
| Cylinder Name | drawing number | bore diameter (D) | rod diameter (d) | stroke (S) | Installation distance (L) | working pressure | Interface dimensions (M) | weight |
| Steering cylinder | A2A300-223000-000 | Φ80 | Φ50 | 2*103 | 652.2 | 10MPa | 2-M16*1.5 | 18kg |
![]() | ![]() |
| Cylinder Name | drawing number | bore diameter (D) | rod diameter (d) | stroke (S) | Installation distance (L) | working pressure | Interface dimensions (M) | weight |
| Steering cylinder | XF250-223000-500T | Φ80 | Φ50 | 2*94 | 654 | 16MPa | 2-M16*1.5 | 20kg |
Forklift steering hydraulic cylinders are used to steer the wheels of a forklift. They are a type of hydraulic cylinder that can both push and pull its load. This is necessary to push the wheels in two directions for left or right turns.
Forklift steering hydraulic cylinders are typically made of steel and have a piston rod that is connected to the wheels of the forklift. The cylinder is filled with hydraulic fluid, and when the fluid is pressurized, it pushes the piston rod, which in turn moves the wheels.
Forklift steering hydraulic cylinders are used in a variety of forklifts, including counterbalance forklifts, reach trucks, and order pickers. They are essential for the safe and efficient operation of these vehicles.
Here are some of the specific applications of forklift steering hydraulic cylinders:
1. To allow the driver to steer the forklift with minimal effort, even when the vehicle is heavily loaded. This is especially important in warehouses and other industrial settings where forklifts are often used to move heavy loads.2. To provide precise control of the forklift's steering, even at low speeds. This is important for maneuvering the forklift in tight spaces or when making sharp turns.3. To help prevent the forklift from tipping over during turns. This is a safety hazard that can be prevented by using a properly functioning forklift steering hydraulic cylinder.4. To extend the life of the forklift's steering system by reducing wear and tear. A well-maintained forklift steering hydraulic cylinder will help to keep the forklift's steering system running smoothly and prevent premature wear and tear.Forklift steering hydraulic cylinders are an important safety feature that helps to keep operators and others safe. They are also essential for the efficient operation of forklifts.
![]() | ![]() |
![]() | ![]() |
![]() | ![]() |
| KOMATSU (PC) | PC30,PC40,PC50,PC56,PC60,PC78,PC100,PC110,PC120,PC130,PC160,PC200-3/5/6/7/8/8MO,PC210,PC220-5/6/7/8/8MO,PC240,PC300/350/360-5/6/7/8/8MO,PC400/450-5/6/7/8/8MO,PC800,PC850 |
| CATERPILLAR (E) | E301.5,E302,E305.5,E306,E307V1/V2/B/C/D/E/F,E308B/C,E120B,E312V1/V2/B/C/D,E313D2,E312D2,E315D,E200B,E320V1/V2/A/B/C/D,E324D,E325C/D,E329D,E330/336C/D,E345C,E349D,E365C,E374,E390 |
| KOBELCO (SK) | SK60-3/5/8,SK75-8/SR, SK100 ,SK120-3/5, SK135-8/SR, SK140-8, SK200-3/5/6/6E, SK210-3/5/6/6E,SK230/250-6E,SK250-8,SK260-8,SK350-8/S8,SK460/480-8 |
| HYUNDAI (R) | R55-5/7, R60-5/7, R80, R110,R130, R200-5, R210-5, R215-5/7,R220-5/7/9, R225-5/7/9, R250,R260,R265,R290,R305,R445,R485, R505 |
| HITACHI (EX.ZX) | EX60,EX100-1/2/3,EX120-1/3/5/6,EX200-1/3/5,EX230-5,EX300-1,EX400ZAX60,ZAX70,ZA120-6,ZAX200/210-1/3/5/5K,ZAX240,ZAX250,ZAX260,ZAX330-3/5/6,ZAX450/470,ZAX650/670,ZAX850/870 |
DOOSAN (DH/DX) | DH55, DH60, DH80,DH150, DH215-5/7,DH220-5,DH225-5/7,DH258,DH300-5/7, DH370,DH420,DH500DX55,DX60,DX75,DX130,DX225-9,DX300,DX380,DX420,DX500 |
VOLVO (EC) | EC55 ,EC60,EC75,EC80,EC140 ,EC210B/D,EC220D,EC240 ,EC250,EC290,EC300, EC360 EC380,EC460,EC480,EC700,EC750,EC950 |
KATO (HD) | HD307/308,HD450,HD512,HD700-5/7,HD820-1/2/3/5/R,HD1023-1/3,HD1430-1/3 |
OTHER BRAND | XCMG,LIUGONG,KUBOTA,CASE,YANMAR,SUNWARD,ZOOMLION,LISHIDE,LIEHERR |
Address
Luotuo Industrial Area, Zhenhai District, Ningbo City, China
Tel
