Male Elbow-WE-R Hydraulic Fittings
Male Elbow-WE-R hydraulic fittings are a type of hydraulic fitting that is used to connect two hydraulic lines at a 90-degree angle. They are typically made of brass or stainless steel and have a male thread on one end and a female thread on the other end. Male Elbow-WE-R hydraulic fittings are available in a variety of sizes and pressure ratings, making them suitable for a wide range of hydraulic applications.
Some of the benefits of using Male Elbow-WE-R hydraulic fittings include:


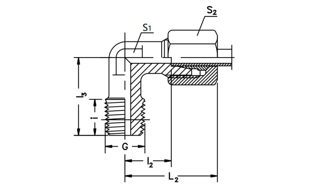
| WE-RPart NO. | Series Working Pressure(bar/psi) | Tube O.d. | GMale BSPT thread | i | I2 | I3 | L2 | S1 | S2 |
| -WE04LLR | LL very light 100 bar 1450psi | 4 | R1/8 keg | 9.5 | 11 | 17 | 21 | 11 | 10 |
| -WE06LLR | 6 | R1/8 keg | 9.5 | 9.5 | 17 | 21 | 11 | 12 | |
| -WE08LLR | 8 | R1/8 keg | 9.5 | 12 | 20 | 23 | 12 | 14 | |
| -WE10LLR | 10 | R1/4keg | 14 | 13 | 23 | 24 | 14 | 17 | |
| -WE12LLR | 12 | R1/4keg | 14 | 13 | 23 | 25 | 17 | 19 | |
| -WE06LR | L light 315 bar 4560psi | 6 | R1/8keg | 8 | 12 | 20 | 27 | 12 | 14 |
| -WE08LR | 8 | R1/4keg | 12 | 14 | 26 | 29 | 14 | 17 | |
| -WE10LR | 10 | R1/4keg | 12 | 15 | 27 | 30 | 17 | 19 | |
| -WE12LR | 12 | R3/8keg | 12 | 17 | 28 | 32 | 19 | 22 | |
| -WE15LR | 15 | R1/2keg | 14 | 21 | 34 | 36 | 19 | 27 | |
| -WE18LR | 18 | R1/2keg | 17 | 24 | 36 | 40 | 24 | 32 | |
| -WE06SR | S heavy 400 bar 5800psi | 6 | R1/4keg | 14 | 16 | 26 | 31 | 14 | 17 |
| -WE08SR | 8 | R1/4keg | 12 | 17 | 27 | 32 | 17 | 19 | |
| -WE10S | 10 | R3/8keg | 12 | 18 | 28 | 34 | 19 | 22 | |
| -WE12S | 12 | R3/8keg | 12 | 22 | 28 | 38 | 22 | 24 | |
| -WE14S | 14 | R1/2keg | 14 | 22 | 32 | 30 | 19 | 27 | |
| -WE16S | 16 | R1/2keg | 17 | 25 | 32 | 43 | 24 | 30 |
Male elbow-WE-R hydraulic fittings have a number of advantages over other types of hydraulic fittings, including:
Overall, male elbow-WE-R hydraulic fittings are a versatile and reliable choice for a wide range of hydraulic applications. They offer superior performance, durability, and ease of use, making them a good value for the money.
![]() | ![]() |


Address
Luotuo Industrial Area, Zhenhai District, Ningbo City, China
Tel
