Union Cross - K Hydraulic Fittings
Union Cross - K hydraulic fittings are a type of hydraulic connection component used in fluid power systems. These fittings are specifically designed to join multiple hydraulic hoses or pipes together at right angles, allowing for the seamless transfer of hydraulic fluid between them.The main purpose of Union Cross - K hydraulic fittings is to provide a reliable and leak-free connection in hydraulic systems. They are commonly used in applications where space is limited or where multiple hydraulic lines need to be connected in a compact manner. The fittings typically consist of a body with four connection ports, each designed to accommodate a hydraulic hose or pipe. The ports are positioned at right angles to each other, forming a cross shape, hence the name "Union Cross."These hydraulic fittings are usually made from high-quality materials such as stainless steel, brass, or carbon steel, which offer excellent durability and resistance to corrosion. The fittings feature threaded connections, allowing for easy installation and removal without the need for welding or soldering. They are available in various sizes and pressure ratings to suit different hydraulic system requirements.Union Cross - K hydraulic fittings provide a secure and tight seal, preventing fluid leaks and maintaining the integrity of the hydraulic system. They are typically used in applications such as industrial machinery, construction equipment, agricultural machinery, and automotive systems where hydraulic power is employed.

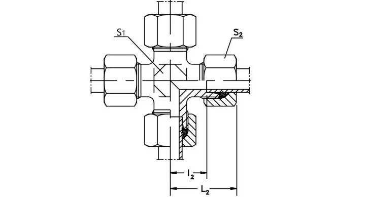
| KPart NO. | SeriesWorking Pressure(bar/psi) | TubeO.d. | l2 | L2 | S1 | S2 |
| -K04LL | LL very light 100 bar 1450psi | 4 | 11 | 21 | 9 | 10 |
| -K06LL | 6 | 9.5 | 21 | 9 | 12 | |
| -K08LL | 8 | 11.5 | 23 | 12 | 14 | |
| -K06L | L light 315 bar 4560psi | 6 | 12 | 27 | 12 | 14 |
| -K08L | 8 | 14 | 29 | 12 | 17 | |
| -K10L | 10 | 15 | 30 | 14 | 19 | |
| -K12L | 12 | 17 | 32 | 17 | 22 | |
| -K15L | 15 | 21 | 36 | 19 | 27 | |
| -K18L | 18 | 23.5 | 40 | 24 | 32 | |
| -K22L | 160 bar 2320psi | 22 | 27.5 | 44 | 27 | 36 |
| -K28L | 28 | 30.5 | 47 | 36 | 41 | |
| -K35L | 35 | 34.5 | 56 | 41 | 50 | |
| -K42L | 42 | 40 | 63 | 50 | 60 | |
| -K06S | S heavy 630 bar 9130psi | 6 | 16 | 31 | 12 | 17 |
| -K08S | 8 | 17 | 32 | 14 | 19 | |
| -K10S | 10 | 17.5 | 34 | 17 | 22 | |
| -K12S | 12 | 21.5 | 38 | 17 | 24 | |
| -K14S | 14 | 22 | 40 | 19 | 27 | |
| -K16S | 400 bar 5800psi | 16 | 24.5 | 43 | 24 | 30 |
| -K20S | 20 | 26.5 | 48 | 27 | 36 | |
| -K25S | 25 | 30 | 54 | 36 | 46 | |
| -K30S | 30 | 35.5 | 62 | 41 | 50 | |
| -K38S | 315 bar4560psi | 38 | 41 | 72 | 50 | 60 |
![]() | ![]() |

Address
Luotuo Industrial Area, Zhenhai District, Ningbo City, China
Tel
