Union - G Hydraulic Fittings
Union-G Hydraulic Fittings are a type of hydraulic fittings used in fluid power systems. They are designed to provide a secure and leak-free connection between hydraulic hoses, pipes, or tubes. These fittings are widely used in various industries, including automotive, construction, manufacturing, and agriculture.The Union-G Hydraulic Fittings are known for their high-quality construction, durability, and reliability. They are typically made from materials such as stainless steel, carbon steel, or brass, which offer excellent corrosion resistance and strength. The fittings are available in a range of sizes, configurations, and thread types to accommodate different hydraulic system requirements.One of the key features of Union-G Hydraulic Fittings is their "union" design, which allows for easy assembly and disassembly of hydraulic connections. This design enables quick maintenance or replacement of hydraulic components without the need for specialized tools or equipment. The fittings typically consist of two parts: a male fitting with external threads and a female fitting with internal threads. When connected, they create a tight seal to prevent fluid leakage.Union-G Hydraulic Fittings are compatible with various types of hydraulic hoses, including rubber, thermoplastic, and PTFE hoses. They can be used with different hydraulic fluids, such as oil, water, and synthetic fluids, depending on the application requirements. These fittings are designed to withstand high-pressure conditions and provide reliable performance in demanding hydraulic systems.

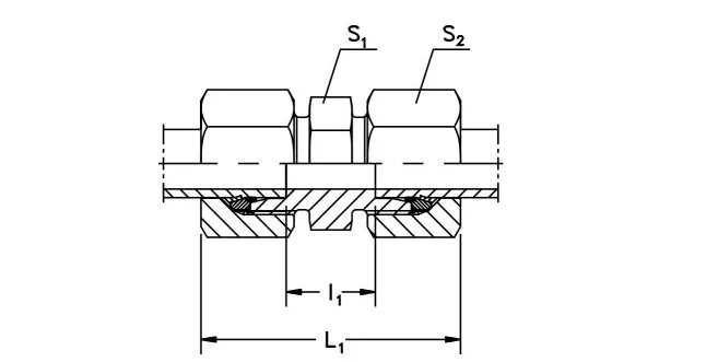
| GPart NO. | Series Working Pressure(bar/psi) | TubeO.D. | l1 | L1 | S1 | S2 |
| -G04LL | LL very light 100 bar 1450psi | 4 | 12 | 31 | 9 | 10 |
| -G06LL | 6 | 9 | 32 | 11 | 12 | |
| -G08LL | 8 | 12 | 35 | 12 | 14 | |
| -G10LL | 10 | 12 | 35 | 14 | 17 | |
| -G12LL | 12 | 11 | 35 | 17 | 19 | |
| -G06L | L light 315 bar 4560psi | 6 | 10 | 39 | 12 | 14 |
| -G08L | 8 | 11 | 40 | 14 | 17 | |
| -G10L | 10 | 13 | 42 | 17 | 19 | |
| -G12L | 12 | 14 | 43 | 19 | 22 | |
| -G15L | 15 | 16 | 46 | 24 | 27 | |
| -G18L | 18 | 16 | 48 | 27 | 32 | |
| -G22L | 160 bar 2320psi | 22 | 20 | 52 | 32 | 36 |
| -G28L | 28 | 21 | 54 | 41 | 41 | |
| -G35L | 35 | 20 | 63 | 46 | 50 | |
| -G42L | 42 | 21 | 66 | 55 | 60 | |
| -G06S | S heavy 630 bar 9130psi | 6 | 16 | 45 | 14 | 17 |
| -G08S | 8 | 18 | 47 | 17 | 19 | |
| -G10S | 10 | 17 | 49 | 19 | 22 | |
| -G12S | 12 | 19 | 51 | 22 | 24 | |
| -G14S | 14 | 22 | 57 | 24 | 27 | |
| -G16S | 400 bar 5800psi | 16 | 21 | 57 | 27 | 30 |
| -G20S | 20 | 23 | 66 | 32 | 36 | |
| -G25S | 25 | 26 | 74 | 41 | 46 | |
| -G30S | 30 | 27 | 80 | 46 | 50 | |
| -G38S | 315 bar 4560psi | 38 | 29 | 90 | 55 | 60 |
![]() | ![]() |
Stainless steel single ferrule unions are versatile fittings that can be used in a wide range of applications, including:
In addition to these general applications, stainless steel single ferrule unions are also used in a variety of specific applications, such as:
Stainless steel single ferrule unions are a versatile and reliable fitting that can be used in a wide range of applications. They are available in a variety of sizes and configurations to meet the specific needs of each application.


Address
Luotuo Industrial Area, Zhenhai District, Ningbo City, China
Tel
