Non-Return Valve-RHV-R-ED Hydraulic Fittings
The Non-Return Valve-RHV-R-ED Hydraulic Fittings is a type of hydraulic fitting that is commonly used in hydraulic systems to control the flow of fluid in one direction. It is designed to allow fluid to flow freely in one direction while preventing backflow or reverse flow in the opposite direction. This type of valve is essential for maintaining the proper functioning and efficiency of hydraulic systems.The Non-Return Valve-RHV-R-ED Hydraulic Fittings are typically made from high-quality materials such as stainless steel or brass, which ensure durability and resistance to corrosion. It consists of a body with threaded connections on both ends, allowing it to be easily integrated into hydraulic piping systems. The valve body houses a movable component, often a spring-loaded poppet or ball, which acts as the check valve mechanism.When fluid flows in the desired direction, the pressure of the fluid forces the poppet or ball to move away from the seat, allowing fluid to pass through the valve unimpeded. However, when there is a reversal of flow or an increase in back pressure, the poppet or ball is pushed against the seat, creating a seal that prevents fluid from flowing back.The Non-Return Valve-RHV-R-ED Hydraulic Fittings are typically used in applications where it is crucial to prevent the reverse flow of fluid, such as in hydraulic cylinders, pumps, and control valves. It ensures that the hydraulic system functions properly, preventing damage to components, loss of pressure, and inefficient operation.Installation of the Non-Return Valve-RHV-R-ED Hydraulic Fittings is relatively straightforward. The valve is typically inserted into the hydraulic system in the desired direction of flow, and the threaded connections are tightened securely using appropriate tools. It is important to ensure that the valve is installed correctly, with the flow arrow indicating the correct direction of fluid flow.

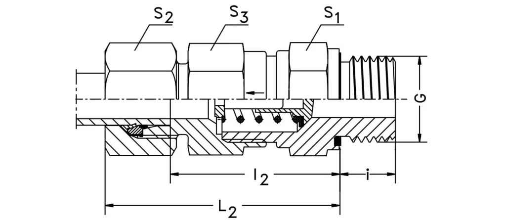
| RHD-RPart no. | Series Working Pressure(bar/psi) | Tube o.d. | S1 | S2 | S3 | L2 | I2 | I | BSPThread G |
| RHV06LRED | L Light250 bar3625 psi | 6 | 17 | 14 | 17 | 42.5 | 29 | 8 | G 1/8A |
| RHV08LRED | 8 | 19 | 17 | 19 | 44.5 | 30 | 12 | G 1/4A | |
| RHV10LRED | 10 | 22 | 19 | 24 | 53 | 40.5 | 12 | G 1/4A | |
| RHV12LRED | 12 | 27 | 22 | 30 | 57 | 43.5 | 12 | G 3/8A | |
| RHV15LRED | 15 | 27 | 27 | 32 | 60.5 | 47.5 | 14 | G 1/2A | |
| RHV18LRED | 160 bar2320 psi | 18 | 36 | 32 | 36 | 66 | 51.5 | 14 | G 1/2A |
| RHV22LRED | 22 | 41 | 36 | 46 | 71 | 61.5 | 16 | G 3/4A | |
| RHV28LRED | 100 bar1450 psi | 28 | 50 | 41 | 55 | 79.5 | 69.5 | 18 | G 1 A |
| RHV35LRED | 35 | 60 | 50 | 60 | 90.5 | 74.5 | 20 | G 1 1/4A | |
| RHV42LRED | 42 | 65 | 60 | 70 | 91 | 74 | 22 | G 1 1/2A | |
| RHV06SRED | S Heavy400 bar5800 psi | 6 | 19 | 17 | 19 | 46 | 34.5 | 12 | G 1/4A |
| RHV08SRED | 8 | 19 | 19 | 19 | 46 | 34.5 | 12 | G 1/4A | |
| RHV10SRED | 10 | 22 | 22 | 24 | 54 | 40.5 | 12 | G 3/8A | |
| RHV12SRED | 12 | 24 | 24 | 27 | 57 | 42.5 | 12 | G 3/8A | |
| RHV14SRED | 315 bar4560 psi | 14 | 27 | 27 | 32 | 62 | 47.5 | 14 | G 1/2A |
| RHV16SRED | 16 | 32 | 30 | 36 | 66 | 50.5 | 14 | G 1/2A | |
| RHV20SRED | 250 bar3625 psi | 20 | 41 | 36 | 46 | 73.5 | 54.5 | 16 | G 3/4A |
| RHV25SRED | 25 | 46 | 46 | 50 | 78.5 | 58.5 | 18 | G 1 A | |
| RHV30SRED | 30 | 60 | 50 | 60 | 90.5 | 69.5 | 20 | G 1 1/4A | |
| RHV38SRED | 38 | 65 | 60 | 70 | 100 | 75.5 | 22 | G 1 1/2A |
![]() | ![]() |

Address
Luotuo Industrial Area, Zhenhai District, Ningbo City, China
Tel
