Raydafon Technology Group Co.,Limited
Raydafon Technology Group Co.,Limited
Products
Products
Pintle Chain AL667XH-AE AL88XH-AC
  • Pintle Chain AL667XH-AE AL88XH-ACPintle Chain AL667XH-AE AL88XH-AC

Pintle Chain AL667XH-AE AL88XH-AC

Introducing Raydafon Group's Pintle Chain AL667XH-AE AL88XH-AC, a durable, high-performance product designed for heavy-duty industrial applications. Its robust construction ensures reliable operation, making it ideal for machinery that demands strength and longevity in challenging environments. Experience enhanced efficiency and peace of mind with this superior solution.

Pintle Chain AL667XH-AE AL88XH-AC With AE AC Attachment

Raydafon Steel Pintle Chain is designed for dependability and quality, at a great price.The Allied-Locke Steel Pintle Chain is well suited for a wide range of applications, such as salt- sand-fertilizer spreaders, bunk feeders, hay handling equip- ment and other similar conveying systems.
Raydafon Steel Pintle Chains feature all heat treated parts with quad staked pins.The open barrel construction minimizes pin surface contact with the barrel, eliminating freezing due to corrosion. The open barrel design elimi- nates material build up in the roots of sprock- ets. This assures smoother operation, uniform link wear, greater resistance to fatigue and longer service life.
Pintle Chain AL667XH-AE AL88XH-AC
Pintle Chain AL667XH-AE AL88XH-AC
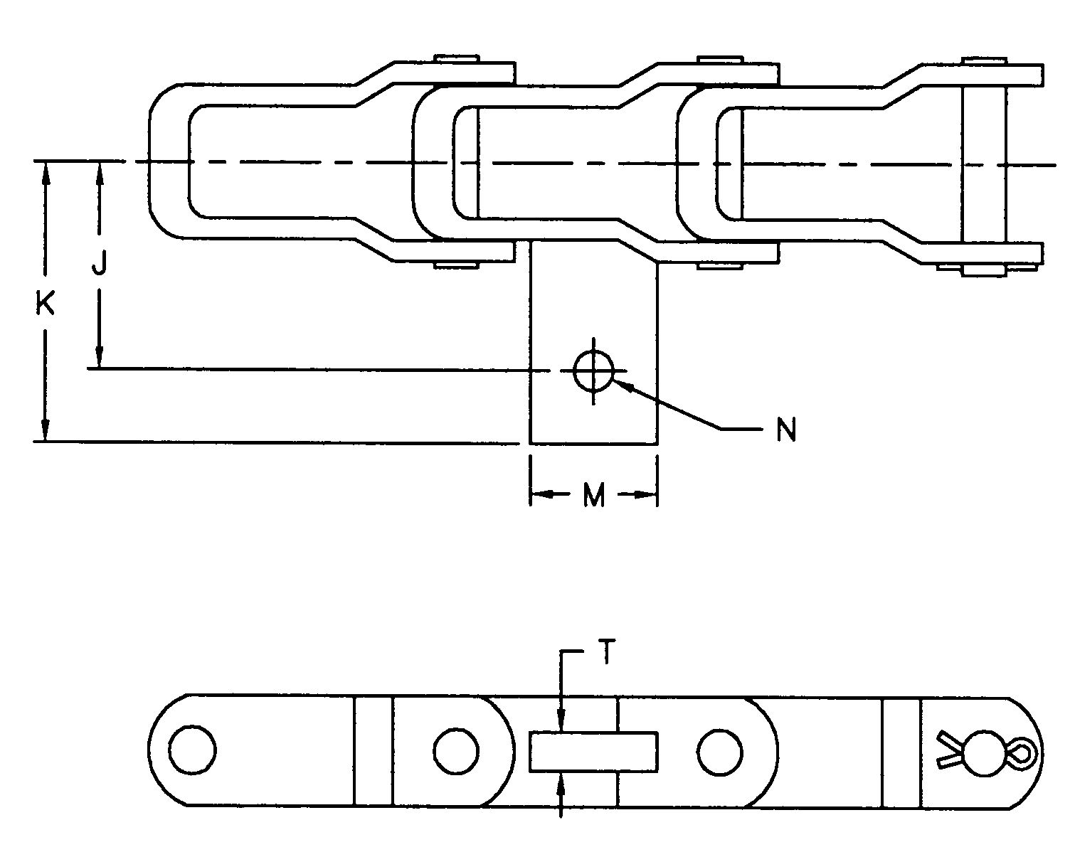
Attachment
Chain No.
J
K
M
N
T
AE
AL667XH
2.031
2.750
1.250
.328
.375
AC
AL88XH
2.031
2.813
1.250
.500
.375
we are specialised in producing Agricultural Roller Chain, Flat Top Chain,Caterpillar Track Chain,Hollow Pin Chain,Conveyor Chain for Beer Filling and Packing Line,Paver Chain,Attachment Sidebar Elevator Chain,Bucket Elevator Chain (Cement Mill Chain),Forging Scraper Chain,Loading Chain for Automobile Industry,Loading Chain for Metallurgical Industry,Conveyor Chain for Mine Machinery,Trencher Chain,Sugar Mill Chain,Double Flex Chain,etc. Welcome calls and emails to inquiry!
Contact us: We care about our valued buyers, if you have any questions, our Customer Service staffs will be very glad to help you. We try our best to reply to your emails as soon as possible, however, due to high volume of daily incoming emails and time zone difference, we may not be able to reply your emails immediately. Please allow 24 business hours for us to response.
Hot Tags: Pintle Chain Manufacturer, AL667XH-AE Chain Supplier, AL88XH-AC Chain Wholesale
Send Inquiry
Contact Info
Get customized quotes for transmission components, gearboxes, and machinery. Our engineers will respond within 24 hours.
Online
X
We use cookies to offer you a better browsing experience, analyze site traffic and personalize content. By using this site, you agree to our use of cookies. Privacy Policy
Reject Accept