
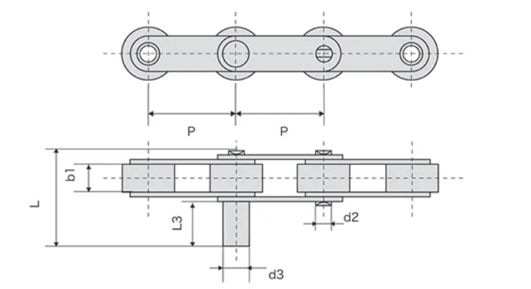
[ninja_tables id="396676"]C210AF4SS Stainless Steel Double Pitch Conveyor Chain is a specialized conveyor chain designed to provide high strength, corrosion resistance, and reliable conveying solutions in industrial environments. The chain is composed of various components, including chain pins, pin shafts, sleeves, and rollers. Each component is designed to withstand the material load, working speed, and environmental conditions to ensure stable operation in various applications.





Address
Luotuo Industrial Area, Zhenhai District, Ningbo City, China
Tel
