CA550F5/CA550F5S/CA550F13/CA550F14/CA550F14S/CA550F16/CA550F17 Agricultural Steel Conveyor CA550 Chain With Attachment
![]() | ![]() |


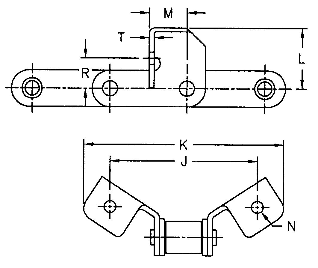
Att. No. | Chain No. | J | K | L | M | N | R | T | S |
F5 | CA550 | 3.125 | 4.000 | 1.250 | .797 | .234 | .625 | .105 | 57° |
F5S | CA550 | 3.125 | 4.000 | 1.250 | .797 | .266 | .625 | .105 | 57° |
F13 | CA550 | 3.125 | 5.250 | 2.234 | 1.375 | .344 | 1.125 | .125 | 35° |
F14 | CA550 | 3.125 | 4.000 | 1.250 | .797 | .328 | .625 | .105 | 57° |
F14S | CA550 | 3.125 | 4.000 | 1.250 | .797 | .406 | .625 | .105 | 57° |
F16 | CA550 | 2.500 | 3.750 | .906 | .281 | .563 | .563 | .105 | 65° |
F17 | CA550 | 4.500 | 5.578 | 1.625 | 1.375 | .391 | .813 | .105 | 65° |
F18 | CA550 | 3.125 | 4.200 | 1.360 | 1.220 | .344 | .625 | .125 | 57° |


Address
Luotuo Industrial Area, Zhenhai District, Ningbo City, China
Tel
