


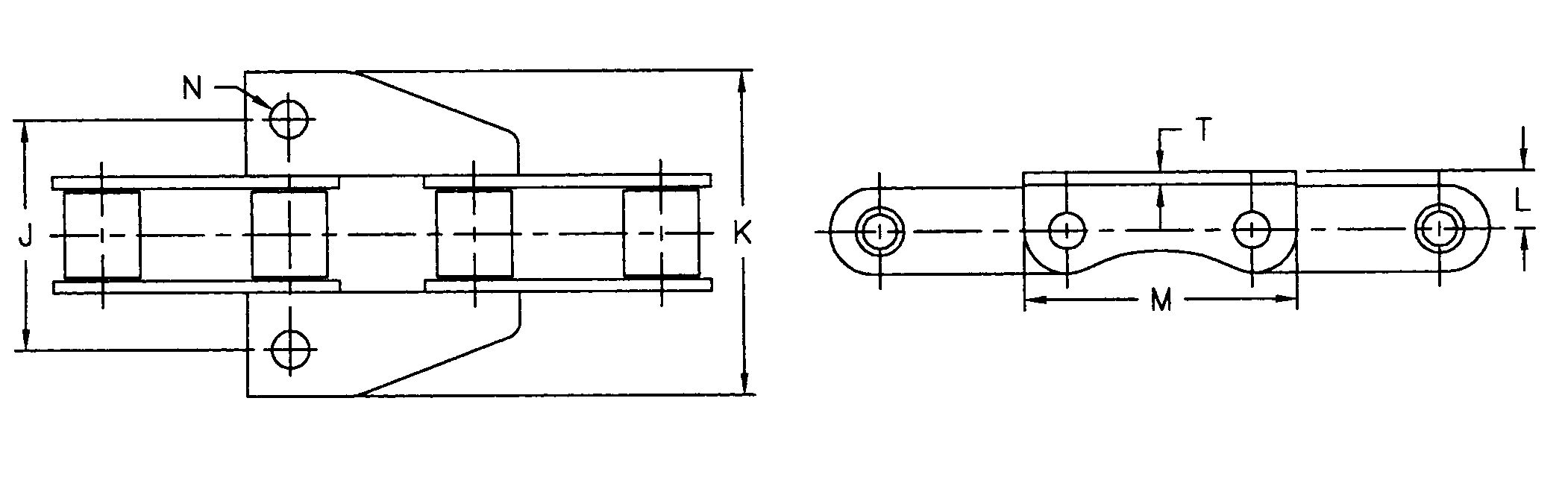
Att. No. | Chain No. | J | K | L | M | N | T |
K39 | A550 | 2.000 | 2.813 | .474 | 2.380 | .328 | .105 |
K39M | A550 | 2.000 | 2.813 | .484 | 2.380 | .390 | .105 |
K35 | A557 | 2.000 | 2.894 | .555 | 2.670 | .343 | .125 |
K35M | A557 | 2.000 | 2.894 | .555 | 2.670 | .406 | .125 |
K39 | A557 | 2.250 | 2.910 | .555 | 2.670 | .343 | .125 |
K39M | A557 | 2.250 | 3.110 | .555 | 2.670 | .390 | .125 |
Address
Luotuo Industrial Area, Zhenhai District, Ningbo City, China
Tel
