

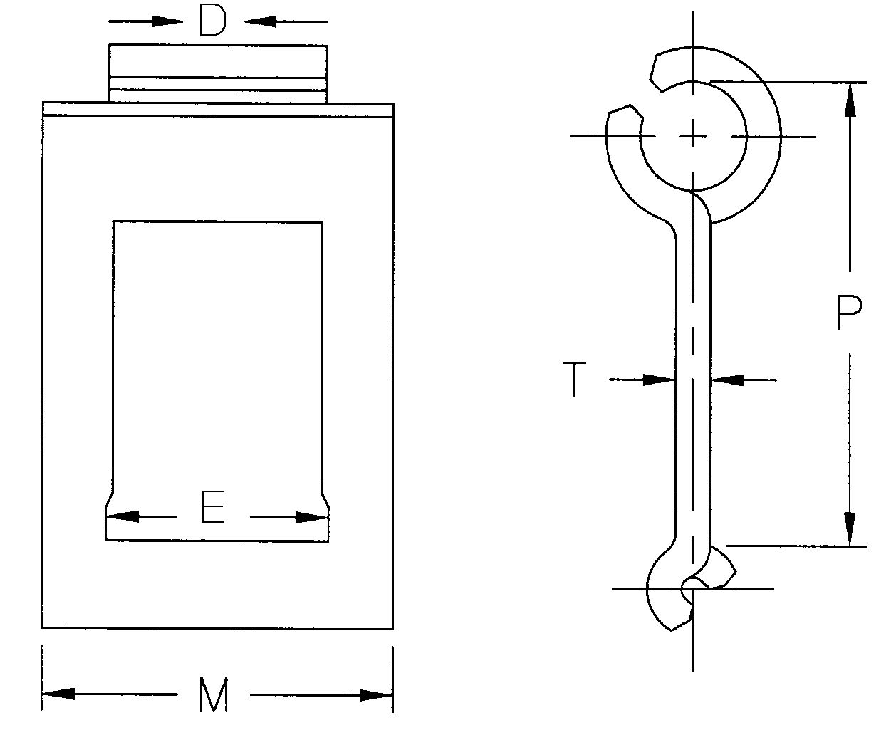
Chain Number | Links in 10 Feet | Approx. Wt. Lbs. Per 100 Ft. | Average Ultimate Strength Lbs. | Minimum Tensile Strength Lbs. | P | M | E | D | T |
25 | 133 | 20 | 950 | 760 | .904 | .703 | .438 | .422 | .073±.006 |
32 | 104 | 32 | 1650 | 1320 | 1.157 | .938 | .610 | .594 | .090±.006 |
32W | 104 | 39 | 1650 | 1320 | 1.157 | 1.063 | .610 | .594 | .079±.006 |
33 | 86 | 39 | 1650 | 1320 | 1.402 | 1.938 | .627 | .610 | .095±.006 |
42 | 87 | 50 | 2300 | 1680 | 1.375 | 1.219 | .800 | .781 | .105±.006 |
50H | 87 | 63 | 2600 | 2240 | 1.375 | 1.281 | .798 | .781 | .125±.006 |
51 | 106 | 40 | 2100 | 1680 | 1.133 | 1.094 | .720 | .703 | .105±.006 |
52 | 80 | 66 | 2700 | 2160 | 1.508 | 1.406 | .760 | .840 | .125±.006 |
55 | 74 | 62 | 2800 | 2240 | 1.630 | 1.281 | .813 | .796 | .125±.006 |
62 | 73 | 90 | 4200 | 3520 | 1.654 | 1.563 | 1.002 | .984 | .148±.007 |
62A | 72 | 131 | 5500 | 4000 | 1.664 | 1.938 | 1.002 | .984 | .172±.007 |
62H | 73 | 112 | 4400 | 3600 | 1.654 | 1.875 | 1.002 | .984 | .148±.007 |
67H | 52 | 137 | 5500 | 4400 | 2.313 | 1.875 | 1.110 | 1.093 | .185±.007 |
67XH | 52 | 145 | 6800 | 5500 | 2.313 | 1.875 | 1.110 | 1.093 | .200±.010 |
67W | 52 | 144 | 4800 | 3800 | 2.313 | 2.375 | 1.110 | 1.093 | .148±.007 |
70 | 60 | 130 | 4800 | 4000 | 2.013 | 1.938 | 1.110 | 1.093 | .172±.007 |
72 | 59 | 131 | 4800 | 4000 | 2.025 | 1.938 | 1.110 | 1.093 | .172±.007 |
S | 41 | 130 | 4800 | 3840 | 2.906 | 1.938 | 1.116 | 1.093 | .172±.007 |
721? 2 | 73 | 115 | 4500 | 3600 | 1.643 | 2.000 | 1.172 | 1.156 | .148±.007 |
Address
Luotuo Industrial Area, Zhenhai District, Ningbo City, China
Tel
