Non-Return Valve-RHV-M-ED Hydraulic Fittings
The Non-Return Valve-RHV-M-ED Hydraulic Fittings is a type of hydraulic fitting commonly used in fluid power systems. It is designed to allow fluid flow in one direction while preventing backflow or reverse flow in the opposite direction. These hydraulic fittings are particularly useful in applications where it is essential to maintain the integrity of the hydraulic system and prevent damage or malfunction caused by reverse flow.The "Non-Return" aspect of the valve's name refers to its function of inhibiting backflow. It ensures that fluid can only flow in the desired direction, typically from the inlet side to the outlet side. When fluid pressure is exerted in the correct direction, the valve opens, allowing the fluid to pass through. However, when the pressure tries to reverse, the valve closes, effectively blocking the flow and preventing any backflow.Non-Return Valve-RHV-M-ED Hydraulic Fittings are crucial components in hydraulic systems, as they provide protection against the damage that can occur due to reverse flow. They are commonly used in various industries, including manufacturing, construction, agriculture, and automotive applications. These hydraulic fittings help maintain system efficiency, prevent fluid contamination, and safeguard sensitive hydraulic components from potential damage caused by reverse flow.

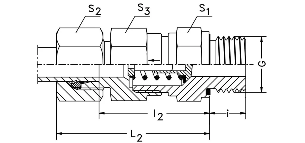
| RHV-MPart no. | Series Working Pressure(bar/psi) | Tube o.d. | S1 | S2 | S3 | L2 | I2 | I | BSPThread G |
| RHV06LMED | L Light250 bar3625 psi | 6 | 17 | 14 | 17 | 42.5 | 28 | 8 | M 10x1 |
| RHV08LMED | 8 | 19 | 17 | 19 | 44.5 | 29 | 12 | M 12X1.5 | |
| RHV10LMED | 10 | 22 | 19 | 24 | 53 | 38.5 | 12 | M 14X1.5 | |
| RHV12LMED | 12 | 27 | 22 | 30 | 57 | 42.5 | 12 | M 16X1.5 | |
| RHV15LMED | 15 | 27 | 27 | 32 | 60.5 | 45.5 | 12 | M 18X1.5 | |
| RHV18LMED | 160 bar2320 psi | 18 | 36 | 32 | 36 | 66 | 50 | 14 | M 22X1.5 |
| RHV22LMED | 22 | 41 | 36 | 46 | 71 | 55 | 16 | M 26X1.5 | |
| RHV28LMED | 100 bar1450 psi | 28 | 50 | 41 | 55 | 79.5 | 63 | 18 | M 33X2 |
| RHV35LMED | 35 | 60 | 50 | 60 | 90.5 | 69 | 20 | M 42X2 | |
| RHV42LMED | 42 | 65 | 60 | 70 | 91 | 68.5 | 22 | M 48X2 | |
| RHV06SMED | S Heavy400 bar5800 psi | 6 | 19 | 17 | 19 | 46 | 31.5 | 12 | M 12X1.5 |
| RHV08SMED | 8 | 19 | 19 | 19 | 46 | 31.5 | 12 | M 14X1.5 | |
| RHV10SMED | 10 | 22 | 22 | 24 | 54 | 38 | 12 | M 16X1.5 | |
| RHV12SMED | 12 | 24 | 24 | 27 | 57 | 41 | 12 | M 18X1.5 | |
| RHV14SMED | 315 bar4560 psi | 14 | 27 | 27 | 32 | 62 | 44.5 | 14 | M 20X1.5 |
| RHV16SMED | 16 | 32 | 30 | 36 | 66 | 48 | 14 | M 22X1.5 | |
| RHV20SMED | 250 bar3625 psi | 20 | 41 | 36 | 46 | 73.5 | 52 | 16 | M 27X2 |
| RHV25SMED | 25 | 46 | 46 | 50 | 78.5 | 54.5 | 18 | M 33X2 | |
| RHV30SMED | 30 | 60 | 50 | 60 | 90.5 | 64 | 20 | M 42X2 | |
| RHV38SMED | 38 | 65 | 60 | 70 | 100 | 69.5 | 22 | M 48X2 |


Address
Luotuo Industrial Area, Zhenhai District, Ningbo City, China
Tel
