CC5 Conveyor Chain (CC5 Chain) for Car Washes and Citrus Processing
The CC5 chain, also called the CC5 conveyor chain or CC5 roller chain is classified as a heavy-duty chain. A CC5 chain is a heavy-duty roller chain that is used in a variety of applications, including auto manufacturing plants, car washes, farm processing, elevators, and other areas that require efficient power transmission. It is made of alloy or premium grade carbon steel and is heat treated for superior strength and toughness. The core is through hardened for superior impact resistance, and the surface is case hardened for the ultimate in extended wear resistance. Precision machining is used to maintain smooth bearing surfaces and a high interference fit with sidebars. Favorable residual stresses resist fatigue and promote extended life.CC5 chains are available in a variety of sizes and lengths, and they can be customized to meet specific requirements. They are also interchangeable with standard bushed roller chains of other manufacturers. CC5 chains are a reliable and versatile option for a variety of applications. They offer high strength, durability, and a long wear life, making them a good choice for demanding environments. They are also available in a variety of sizes and lengths, and they can be customized to meet specific requirements.![]() | ![]() |

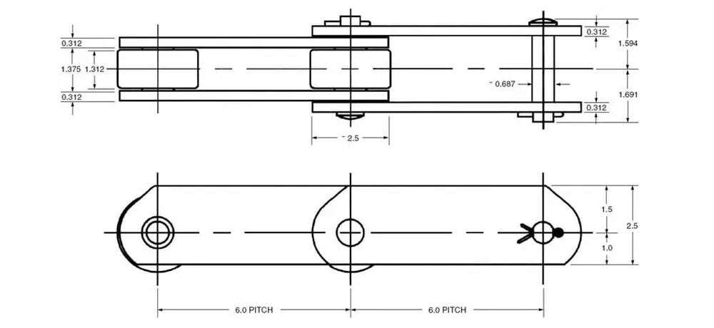
| Chain Number: | CC5 Chain (Car Wash Conveyor Chain) |
| Pitch Inner Link (P): | 6.000″ |
| Pitch Outer Link (P): | 6.000″ |
| Pin Diameter (E): | 0.687″ |
| Overall Width Cottered (C2): | 2.08″ |
| Overall Width Riveted (C1): | 2.00″ |
| Sidebar Height (H): | 2.50″ |
| Roller Diameter (D): | 0.91″ |
| Sidebar thickness (T): | 0.312 |
| Bushing Length (X): | 2.00″ |
| Links per 10 ft: | 20 |
| Avg. Tensile Strength (R): | 50000 |
| Average Weight: | 11.0 lbs/ft |

![]() | ![]() |
![]() | ![]() |

Address
Luotuo Industrial Area, Zhenhai District, Ningbo City, China
Tel
