Male Elbow-WE-M Hydraulic Fittings
Male Elbow-WE-M hydraulic fittings are a type of elbow fitting with a male thread on one end and a female thread on the other. They are designed to connect two hydraulic hoses or pipes at a 90-degree angle. Male Elbow-WE-M fittings are commonly used in a variety of hydraulic applications, including construction, agriculture, and manufacturing.
Male Elbow-WE-M fittings are available in a variety of sizes and materials, including steel, stainless steel, and brass. The type of material used will depend on the specific application and the required pressure rating. For example, stainless steel fittings are often used in corrosive environments, while brass fittings are often used in applications where low weight is important.
Male Elbow-WE-M fittings are also available in a variety of pressure ratings. The pressure rating of a fitting is the maximum pressure that it can safely withstand. The pressure rating of a fitting must be equal to or greater than the pressure rating of the hose or pipe that it is being used to connect.


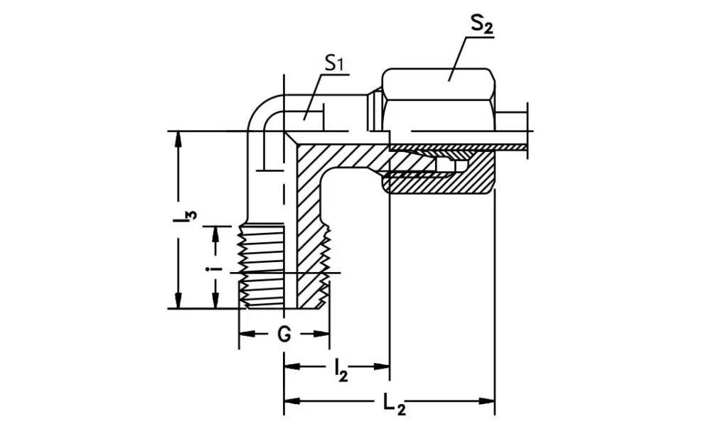
| WE-MPart NO. | Series Working Pressure(bar/psi) | Tube O.d. | GMale metric thread | i | I2 | I3 | L2 | S1 | S2 |
| -WE04LLM | LLvery light100 bar1450psi | 4 | M8*1 keg | 9.5 | 11 | 17 | 21 | 11 | 10 |
| -WE06LLM | 6 | M10*1 keg | 9.5 | 9.5 | 17 | 21 | 11 | 12 | |
| -WE08LLM | 8 | M10*1 keg | 9.5 | 12 | 20 | 23 | 12 | 14 | |
| -WE06LM | L light315 bar4560psi | 6 | M10*1 keg | 8 | 12 | 20 | 27 | 12 | 14 |
| -WE08LM | 8 | M12*1 .5keg | 12 | 14 | 26 | 29 | 14 | 17 | |
| -WE10LM | 10 | M14*1 .5keg | 12 | 15 | 27 | 30 | 17 | 19 | |
| -WE12LM | 12 | M16*1 .5keg | 12 | 17 | 28 | 32 | 19 | 22 | |
| -WE15LM | 15 | M18*1 .5keg | 12 | 21 | 32 | 36 | 19 | 27 | |
| -WE18LM | 18 | M22*1 .5keg | 17 | 24 | 36 | 40 | 24 | 32 | |
| -WE06SM | S Heavy400 bar5800psi | 6 | M12*1 .5keg | 14 | 16 | 26 | 31 | 14 | 17 |
| -WE08SM | 8 | M14*1 .5keg | 12 | 17 | 27 | 32 | 17 | 19 | |
| -WE10SM | 10 | M16*1 .5keg | 12 | 18 | 28 | 34 | 19 | 22 | |
| -WE12SM | 12 | M18*1 .5keg | 12 | 22 | 28 | 38 | 22 | 24 | |
| -WE14SM | 14 | M20*1 .5keg | 14 | 22 | 32 | 40 | 19 | 27 | |
| -WE16SM | 16 | M22*1 .5keg | 17 | 25 | 32 | 43 | 24 | 30 |
Male Elbow-WE-M hydraulic fittings are a type of high-quality, high-pressure fitting that is commonly used in a variety of industrial and commercial applications. These fittings offer a number of benefits, including:
1. Durability: Male Elbow-WE-M hydraulic fittings are made from high-strength materials, such as brass, stainless steel, and carbon steel. This makes them highly durable and resistant to wear and tear, even in the most demanding environments.2. Leak resistance: Male Elbow-WE-M hydraulic fittings are designed to provide a tight seal, even under high pressure. This helps to prevent leaks and ensure reliable performance.3. Corrosion resistance: Male Elbow-WE-M hydraulic fittings are also resistant to corrosion, which makes them ideal for use in harsh environments.4. Ease of installation: Male Elbow-WE-M hydraulic fittings are easy to install and remove, thanks to their simple design and use of standard threads.5. Wide range of applications: Male Elbow-WE-M hydraulic fittings are available in a wide range of sizes and configurations, making them suitable for a variety of applications.6. 360-degree swivel: The 360-degree swivel design allows for easy positioning and routing of hoses and tubes.7. Compact size: The compact size of Male Elbow-WE-M hydraulic fittings makes them ideal for use in tight spaces.8. High pressure rating: Male Elbow-WE-M hydraulic fittings are available with a high-pressure rating, making them suitable for use in demanding applications.9. Wide temperature range: Male Elbow-WE-M hydraulic fittings can be used in a wide temperature range, making them suitable for use in a variety of environments.Overall, Male Elbow-WE-M hydraulic fittings are a high-quality, versatile fitting that offers a number of benefits for industrial and commercial applications.
![]() | ![]() |

Address
Luotuo Industrial Area, Zhenhai District, Ningbo City, China
Tel
