Swivel Connector-EGE-R-ED Hydraulic Fittings
The Swivel Connector-EGE-R-ED Hydraulic Fittings is a type of hydraulic fitting used in fluid power systems. It is designed to connect hydraulic hoses or tubes together, allowing for the transmission of hydraulic fluid under high pressure.Here are some key features and characteristics of the Swivel Connector-EGE-R-ED Hydraulic Fittings:1. Swivel Design: The swivel feature of these fittings allows for rotational movement, which enables flexibility in hose or tube positioning. This is particularly useful in applications where there is movement or vibration, as it helps prevent kinking or twisting of the hoses.2. High Pressure Capability: The Swivel Connector-EGE-R-ED Hydraulic Fittings are built to withstand high-pressure hydraulic systems. They are typically manufactured from durable materials such as stainless steel or steel with corrosion-resistant coatings, ensuring they can handle the demands of hydraulic systems.3. Easy Installation: These Swivel Connector-EGE-R-ED Hydraulic Fittings are designed for easy installation and removal. They often feature a threaded connection, allowing for simple attachment to hoses or tubes without the need for specialized tools or equipment.4. Wide Range of Sizes: Swivel Connector-EGE-R-ED Hydraulic Fittings are available in various sizes and configurations to accommodate different hydraulic system requirements. This includes different thread sizes, hose diameters, and end connections, ensuring compatibility with existing system components.5. Leakage Prevention: The Swivel Connector-EGE-R-ED Hydraulic Fittings are designed to provide a reliable and leak-free connection. They often incorporate sealing mechanisms such as O-rings or sealing washers to prevent fluid leakage at the connection points.6. Compatibility: These Swivel Connector-EGE-R-ED Hydraulic Fittings are compatible with a range of hydraulic fluids, including oils and certain types of hydraulic fluids. However, it's important to ensure compatibility with the specific fluid being used in the hydraulic system.

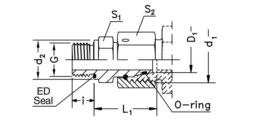
| EGE-R-EDPart NO. | Series Working Pressure(bar/psi) | D1Tube o.d. | Gmale thread BSPP | d1 | d2 | i | L1 | S1 | S2 |
| EGE06LRED | L light315 bar4560 psi | 6 | G 1/8A | M12 x1.5 | 14 | 8 | 24.5 | 14 | 14 |
| EGE08LRED | 8 | G 1/4A | M14x1.5 | 19 | 12 | 29.5 | 19 | 17 | |
| EGE10LRED | 10 | G 1/4A | M16x1.5 | 19 | 12 | 27.5 | 19 | 19 | |
| EGE12LRED | 12 | G3/8A | M18x1.5 | 22 | 12 | 34 | 22 | 22 | |
| EGE15LRED | 15 | G1/2A | M22x1.5 | 27 | 14 | 32 | 27 | 27 | |
| EGE18LRED | 18 | G1/2A | M26x1.5 | 27 | 14 | 31.5 | 27 | 32 | |
| EGE22LRED | 160 bar2320 psi | 22 | G 3/4A | M30 x2 | 32 | 16 | 32.5 | 32 | 36 |
| EGE28LRED | 28 | G 1A | M36 x2 | 40 | 18 | 35 | 41 | 41 | |
| EGE35LRED | 35 | G11/4A | M45 x2 | 50 | 20 | 42.5 | 50 | 50 | |
| EGE42LRED | 42 | G11/2A | M52 x2 | 55 | 22 | 46.5 | 55 | 60 | |
| EGE06SRED | S heavy630 bar9130 psi | 6 | G 1/4A | M14x1.5 | 19 | 12 | 27 | 19 | 17 |
| EGE08SRED | 8 | G 1/4A | M16x1.5 | 19 | 12 | 29.5 | 19 | 19 | |
| EGE10SRED | 10 | G 3/8A | M18x1.5 | 22 | 12 | 32 | 22 | 22 | |
| EGE12SRED | 12 | G 3/8A | M20x1.5 | 22 | 12 | 34 | 22 | 24 | |
| EGE14SRED | 14 | G1/2A | M22x1.5 | 27 | 14 | 36.5 | 27 | 27 | |
| EGE16SRED | 400 bar5800 psi | 16 | G1/2A | M24 x1.5 | 27 | 14 | 37 | 27 | 30 |
| EGE20SRED | 20 | G 3/4A | M30 x2 | 32 | 16 | 43 | 32 | 36 | |
| EGE25SRED | 25 | G 1A | M36 x2 | 40 | 51 | 48 | 41 | 46 | |
| EGE30SRED | 30 | G11/4A | M42 x2 | 50 | 20 | 51 | 50 | 50 | |
| EGE38SRED | 315 bar4560 psi | 38 | G11/2A | M52 x2 | 55 | 22 | 60 | 55 | 60 |


Address
Luotuo Industrial Area, Zhenhai District, Ningbo City, China
Tel
