Swivel Union-GZR Hydraulic Fittings
Swivel Union-GZR hydraulic fittings are a type of hydraulic connector used in various fluid power systems. These fittings are designed to provide a secure and leak-free connection between hydraulic components, such as hoses, pipes, cylinders, valves, and pumps.The Swivel Union-GZR hydraulic fittings refer to the ability of these fittings to rotate or swivel, allowing for flexibility in the hydraulic system. This rotation capability is particularly useful in applications where there is movement or vibration, as it helps prevent stress on the hose or pipe and reduces the risk of leakage or damage.Swivel Union-GZR hydraulic fittings are commonly made of durable materials such as steel, stainless steel, or brass, depending on the specific application requirements and the type of fluid being conveyed. These fittings typically have threaded connections on one or both ends, allowing them to be easily connected to other hydraulic components.The swivel feature of these Swivel Union-GZR hydraulic fittings allows for easy installation and alignment of the hydraulic system components. It also provides flexibility during operation, allowing for movement and adjustment without putting excessive stress on the fittings or hoses.GZR Swivel Union Hydraulic Fittings are a popular choice for a variety of applications, including:


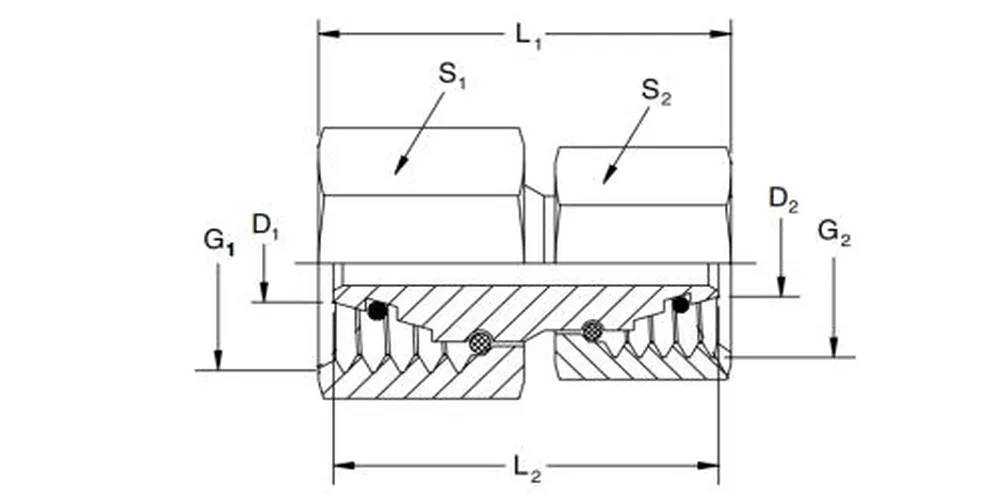
| GZRPart no. | Series Working Pressure (bar/psi) | Tube o.d. | Metric Thread | L1 | L2 | S1 | S2 | ||
| D1 | D2 | G1 | G2 | ||||||
| GZR06L/06S | L light 315 bar4565 psi | 6 | 6 | M14X1.5 | M12X1.5 | 33 | 32 | 17 | 14 |
| GZR08L/08S | 8 | 8 | M16X1.5 | M14X1.5 | 34 | 33 | 19 | 17 | |
| GZR10L/10S | 10 | 10 | M18X1.5 | M16X1.5 | 34.5 | 33 | 22 | 19 | |
| GZR12L/12S | 12 | 12 | M20X1.5 | M18X1.5 | 37.5 | 36 | 24 | 22 | |
| GZR18L/16S | 18 | 16 | M26X1.5 | M24X1.5 | 41.5 | 39 | 32 | 30 | |
| GZR22L/20S | 160 bar2320 psi | 22 | 20 | M30X2 | M30X2 | 47 | 44 | 36 | 36 |
| GZR28L/25S | 28 | 25 | M36X2 | M36X2 | 50.5 | 46 | 41 | 46 | |
| GZR35L/30S | 35 | 30 | M45X2 | M42X2 | 59 | 52 | 50 | 50 | |
| GZR42L/38S | 42 | 38 | M52X2 | M52X2 | 62 | 52 | 60 | 60 | |
| GZR16S/15L | S heavy 315 bar4565 psi | 16 | 15 | M24X1.5 | M22X1.5 | 41 | 39 | 30 | 27 |
| GZR20S/18L | 20 | 18 | M30X2 | M26X1.5 | 47 | 44 | 36 | 32 | |
| GZR25S/22L | 160 bar2320 psi | 25 | 22 | M36X2 | M30X2 | 50.5 | 46 | 46 | 36 |
| GZR30S/28L | 30 | 28 | M42X2 | M36X2 | 58 | 52 | 50 | 41 | |
| GZR38S/35L | 38 | 35 | M52X2 | M45X2 | 61.5 | 52 | 60 | 50 | |
![]() | ![]() |

Address
Luotuo Industrial Area, Zhenhai District, Ningbo City, China
Tel
