FHP20K Split Taper Bushing
The FHP20K split taper bushing is a mechanical component used for mounting pulleys, sprockets, and other power transmission components onto a shaft. It is designed to fit onto a shaft and provide a secure and accurate connection between the shaft and the mounted component. The FHP20K split taper bushing is part of a family of split taper bushings, which are commonly used in applications where frequent removal and/or repositioning of components is necessary.The FHP20K split taper bushing has a 15/16 inch inside diameter and is made of high-quality steel that is heat-treated for durability and strength. The split design of the bushing allows for easy installation and removal without the need to disassemble the mounted component or the shaft. The tapered design of the bushing provides a tight fit between the bushing and the shaft, ensuring that the mounted component rotates smoothly and without wobble.

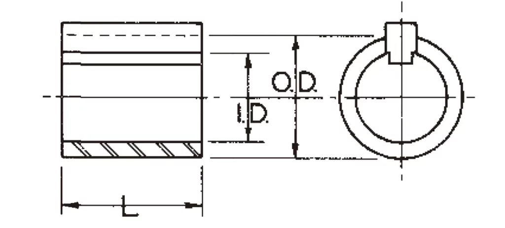
| Bushing Part No. | FHP20K Split Taper Bushing |
| Outside Diameter (O.D.) | 1" |
| Inside Diameter (I.D.) | 15/16" |
| Length | 1 1/8" |
| Keyway Size | 1/4" X 9/32" |
| Bore Type | Finished with Keyway |
| Material | Steel |
| Application | Mounting of various FHP drive components, including sheaves, pulleys, and sprockets. |
![]() | ![]() |
![]() | ![]() |
Address
Luotuo Industrial Area, Zhenhai District, Ningbo City, China
Tel
