FHP2K Split Taper Bushing
FHP2K split taper bushing is a type of mechanical component used to mount shafts onto rotary equipment such as electric motors, gearboxes, and pumps. It is designed to fit into a tapered bore on the equipment and provide a secure, concentric connection between the shaft and the equipment.The FHP2K split taper bushing is made of high-quality steel and has a split design, which allows for easy installation and removal without disassembling the equipment. The split design also allows for a tighter grip on the shaft, providing a more secure connection and reducing the risk of slippage or damage to the shaft.The FHP2K split taper bushing is compatible with a variety of shaft sizes and can be used in many different types of equipment. It is commonly used in industrial applications such as conveyor systems, pumps, and fans. Overall, the FHP2K split taper bushing is a durable, reliable, and easy-to-use mechanical component that provides a secure connection between rotating equipment and shafts.

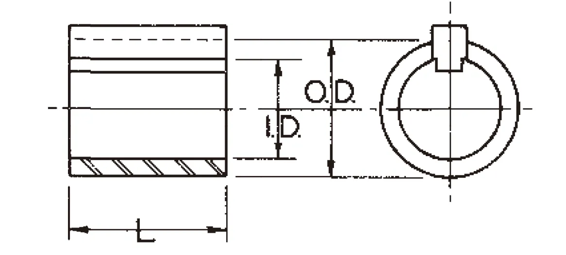
| Bushing Part No. | FHP2K Split Taper Bushing |
| Outside Diameter (O.D.) | 3/4" |
| Inside Diameter (I.D.) | 5/8" |
| Length | 1 1/8" |
| Keyway Size | 3/16" X 1/4" |
| Bore Type | Finished with Keyway |
| Material | Steel |
| Application | Mounting of various FHP drive components, including sheaves, pulleys, and sprockets. |
![]() | ![]() |
| Feature | QD Bushing | Split Taper Bushing |
|---|---|---|
| Flange | Yes | No |
| OD | Straight | Tapered |
| Installation | Spread open and inserted | Press fit |
| Holding power | Lower | Higher |
| Applications | High-precision applications, ease of installation and removal | Heavy-duty applications, high-holding power |
![]() | ![]() |
| QD Bushing | Split Taper Bushing |
|---|
![]() | ![]() |
Address
Luotuo Industrial Area, Zhenhai District, Ningbo City, China
Tel
